EasyManua.ls Logo

AEG COMPETENCE D81005 - The Second Oven; Uses of the Second Oven; Selecting the Second Oven; Second Oven Light

AEG COMPETENCE D81005
57 pages
Print Icon
To Next Page IconTo Next Page
To Next Page IconTo Next Page
To Previous Page IconTo Previous Page
To Previous Page IconTo Previous Page
Loading...
USES OF THE SECOND OVEN
The second oven is provided with 3 different
cooking functions. For each of them, a pre-set
temperature will be automatically selected.
1) Scroll through the second oven function
selectors using or to select the required
oven function. Each time button or is
depressed, a neon will flash to the left of the
currently selected function. Once you have
selected the function you require, wait 5
seconds until your choice is confirmed. The
neon will stop flashing and remain constant
confirming your choice.
2) The temperature will set automatically. If the
pre-set temperature is not suitable, press button
or to adjust the temperature in 5 degree
steps until the required temperature setting is
reached.
To switch off a function simply press or
once. The neon will go out and the display will
return to the time of day.
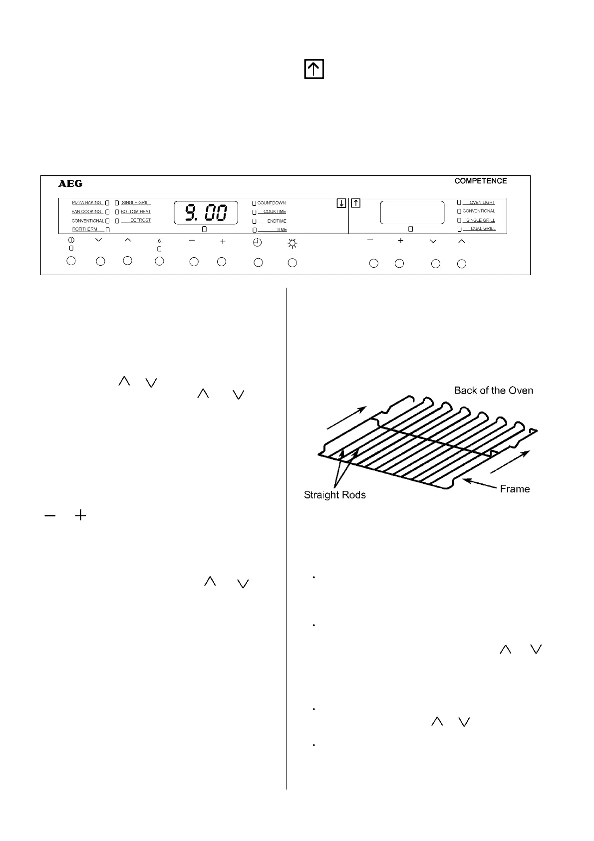
TO FIT THE SECOND OVEN SHELF
The cranked shelf should be fitted with the straight
rods uppermost on the frame and the forms
towards the back of the oven. If not fitted correctly
the anti-tilt and safety stop mechanism will be
affected.
SECOND OVEN LIGHT
SELECTING THE SECOND OVEN LIGHT
The oven light illuminates the second oven
when a second oven cooking function and
temperature have been selected.
To turn the second oven light on whilst the
oven is not in operation, scroll through the
second oven function selectors using or
until the oven light neon is illuminated. Wait 5
seconds until your choice is confirmed and the
neon stops flashing.
To switch the light off whilst the oven is not in
operation simply press or once.
For information on replacing the second oven
light bulb turn to page 39.
28
The second oven is the smaller of the two ovens. It is heated by elements in the top and bottom of the oven. It
is designed for cooking smaller quantities of food. It gives especially good results if used to cook fruit cakes,
sweet and savoury flans or quiche.
The second oven is also ideal for use as a warming compartment to warm dishes and keep food hot. Use a
temperature setting of 90° - 100°C on the second oven temperature control.
THE SECOND OVEN
SELECTING THE SECOND OVEN

Table of Contents

Related product manuals