EasyManua.ls Logo

AirMan SG - Unit Storage; Preparation for Long-term Storage

AirMan SG
63 pages
Print Icon
To Next Page IconTo Next Page
To Next Page IconTo Next Page
To Previous Page IconTo Previous Page
To Previous Page IconTo Previous Page
Loading...
7. Storage of the Unit
7-1
7.1 Preparation for Long-term Storage
When the unit is left unused or not operated longer than half a year (6 months), store it at the dry
place where no dust exists after the following treatments have been done to it.
Put the unit in a temporary cabin if it is stored outside. Avoid leaving the unit outside with a sheet
cover directly on the paint for a long time, or this will cause rust to the unit.
Perform the following treatments at least once every three months.
<Procedure>
Discharge existing lubricant from the engine oil pan. Pour new lubricant in the engine to clean
its inside. After running it for a while, drain it again.
Spread lubricant on each moving part.
Completely charge the battery and disconnect grounding wires. Remove the battery from the
unit, if possible, and store it in a dry place. (Charge the battery at least once every month.)
Discharge coolant and fuel from the unit.
Seal air-intake port of engine and other openings like the muffler with a vinyl sheet, packing
tape, etc., to prevent moisture and dust from getting in the unit.
Measure the insulation resistance of the generator, and make sure that it is more than 1MΩ.
(See 5.5.3)
Be sure to repair any trouble and maintain the unit so that it will be ready for the next
operation.
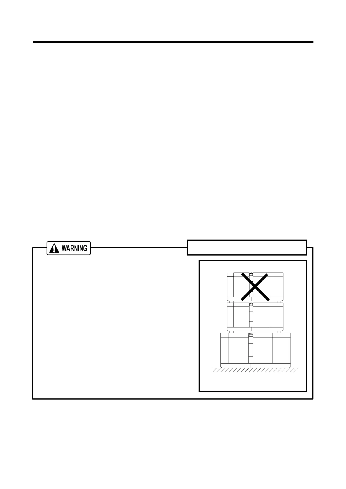
When stacking up the machines for storage, only two
units stacking is acceptable. The mass of the lower
machine should be larger than that of the upper one.
Select a leveled floor with sufficient strength.
Before stacking the machines up, check the machine for
deformation of bonnet, looseness or missing of bolts,
and other parts.
When stacking them, be sure to securely fix them as
shown in the figure so that the balanced weight is applied
to each squared lumber for preventing a sideslip or a
collapse.
Never operate the machines with stacking conditions.
It is very dangerous.
Machines stacked could fall down due to sideslip or
collaspse when an earthquake occurs. Therefore, safety
should be sufficiently considered for surroundings of
storage places.
H000028
Stacking up box type machines

Related product manuals