EasyManua.ls Logo

Akai CS-705D - Page 16

Akai CS-705D
54 pages
Print Icon
To Next Page IconTo Next Page
To Next Page IconTo Next Page
To Previous Page IconTo Previous Page
To Previous Page IconTo Previous Page
Loading...
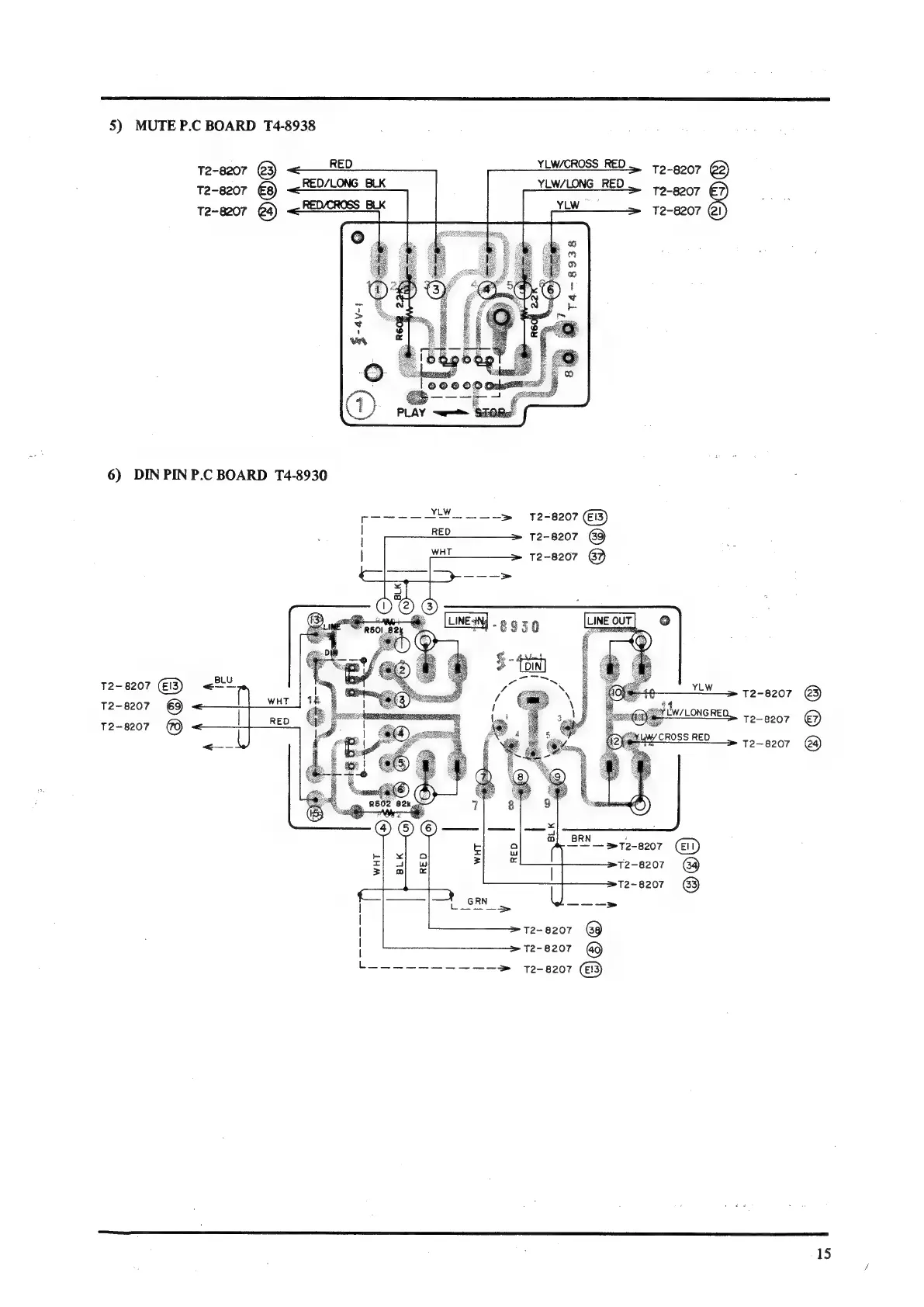
5)
MUTE
P.C
BOARD
T4-8938
12-8207
@)
RED
YLWAROSS
RED
t2_g207
G8)
T2-8207
YLW/LONG
RED
5
12-8207
g
T2-8207
4)
T2-8207
6)
DIN
PIN
P.C
BOARD
T4-8930
12-8207
(EI3)
T2-8207
@9
T2-8207
6?
T2-e207
€i3)
<e
T2-8207
€9
T2-8207
(0)
12-8207
@3)
T2-8207
€)
T2—8207
BRN
>-207
C1)
T2-8207
(4)
12-8207
Goes
ee
>
12-8207
(3)
15

Related product manuals