EasyManua.ls Logo

ALADIN TEC 2G - Diving with Microbubble (MB) Levels; Comparison of Dives with MB Level L0 and MB Level L5

ALADIN TEC 2G
54 pages
Print Icon
To Next Page IconTo Next Page
To Next Page IconTo Next Page
To Previous Page IconTo Previous Page
To Previous Page IconTo Previous Page
Loading...
32
V Diving with microbubble (MB) levels
V UWATEC Aladin TEC 2G
The following chapter deals with the characteristics of diving with microbubble (MB) levels. For
general information about displays and features of diving with Aladin see chapter III.
Microbubbles are tiny bubbles that can build up inside a diver's body during any dive and normally dissi-
pate naturally during an ascent and on the surface after a dive. Dives within no-stop time and observance of
decompression stops do not prevent the formation of microbubbles in the venous blood circulation.
Dangerous microbubbles are those migrating into the arterial circulation. The reasons for the migration from
the venous blood circulation to the arterial circulation can be a great many microbubbles collecting in the
lungs. UWATEC has equipped
Aladin
dive computers with a new technology to protect from microbubbles.
The diver chooses – according to his/her needs – an MB level and influences through it the level of protection
from microbubbles.
Diving with MB levels requires additional ascent stops (level stops), the ascent is slowed
down and the body gets more time to desaturate. This works contrary to the formation of the microbubbles
and increases safety
.
Aladin features 6 microbubble levels (L0-L5). Level L0 corresponds to UWATEC's well-known decompres-
sion model ZH-L8 ADT and does not require level stops due to microbubble formation. Levels L1 to L5 offer
additional protection from microbubble formation with level L5 offering the highest protection.
Similar to the display of information during decompression dives or dives within no-stop time,
Aladin
displays
depth and duration of the first level stop as well as the total time of ascent as soon as the MB no-stop time
has run out. As the MB no-stop time is shorter than the ordinary no-stop time a diver will be required to carry
out a stop (level stop) sooner than a diver using level L0.
If a diver ignores a required level stop, Aladin will cascade to a lower MB level and the dive can not be completed
with the initially chosen MB level. E.g. if a diver sets level L4 on Aladin prior to the dive and during the dive ignores
the recommended stops Aladin will automatically adjust the setting to level L3 or lower.
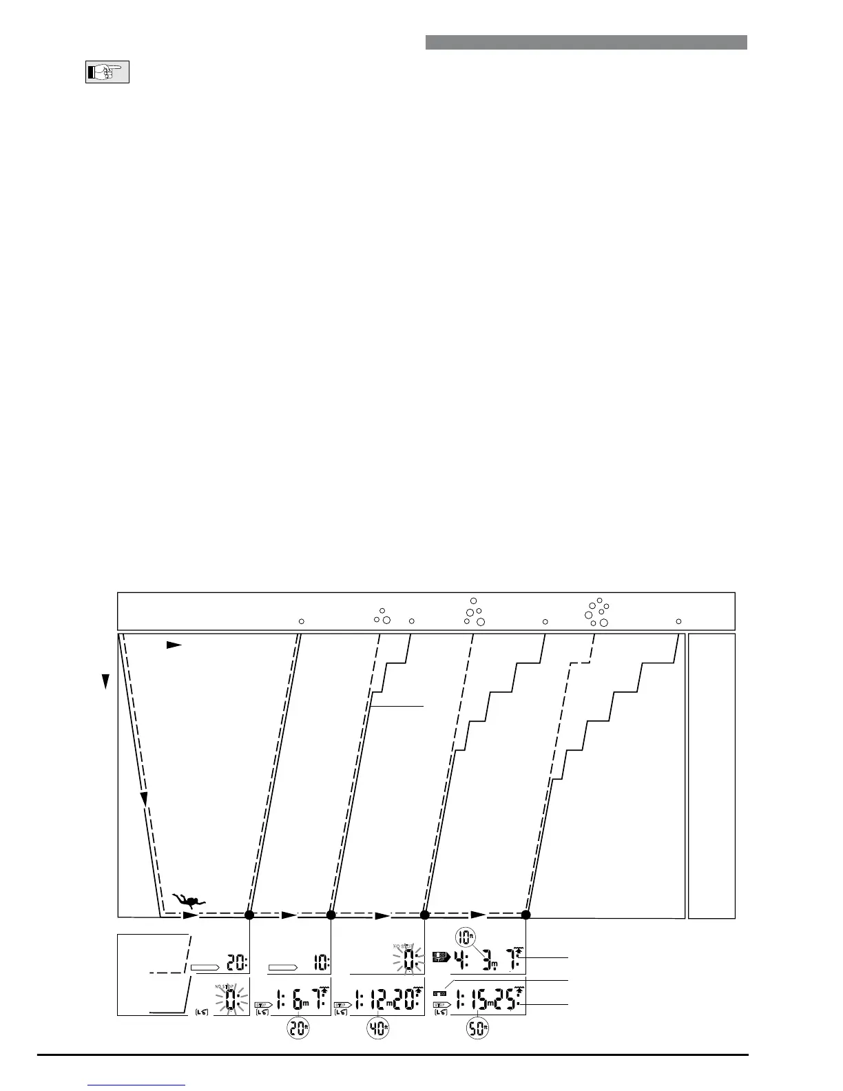
1 Comparison of dives with MB level L0 and MB level L5
When two Aladin are used simultaneously, one unit is set for example to MB level L5, the other to L0,
the no-stop time will be shortened and level stops will be required before the diver has the obligation of a
decompression stop. These additional level stops help dissipate the microbubbles.
NO STOP
3m/10ft
6m/20ft
9m/30ft
12m/40ft
15m/50ft
Depth
Stop depth
MB level
L0
L5
NO STOPNO STOP
STOP
STOP
STOP
DECO
STOP
DECO
NO ST OP
Microbubble accumulation
at the end of dive
Time
L0
L5
Decompression values
Level stop values
Decompression obligation, ->35

Table of Contents

Related product manuals