EasyManua.ls Logo

Alfa Network A1930 - Adjusting the Feed Timing

Default Icon
18 pages
Print Icon
To Next Page IconTo Next Page
To Next Page IconTo Next Page
To Previous Page IconTo Previous Page
To Previous Page IconTo Previous Page
Loading...
10
Be careful not to move the feed eccentric cam too far, or else needle breakage may result.
WARNING
To avoid possible personal injury due to abrupt start of the machine, turn off the power to the
machine and check to be sure that the motor has totally stopped rotating in prior.
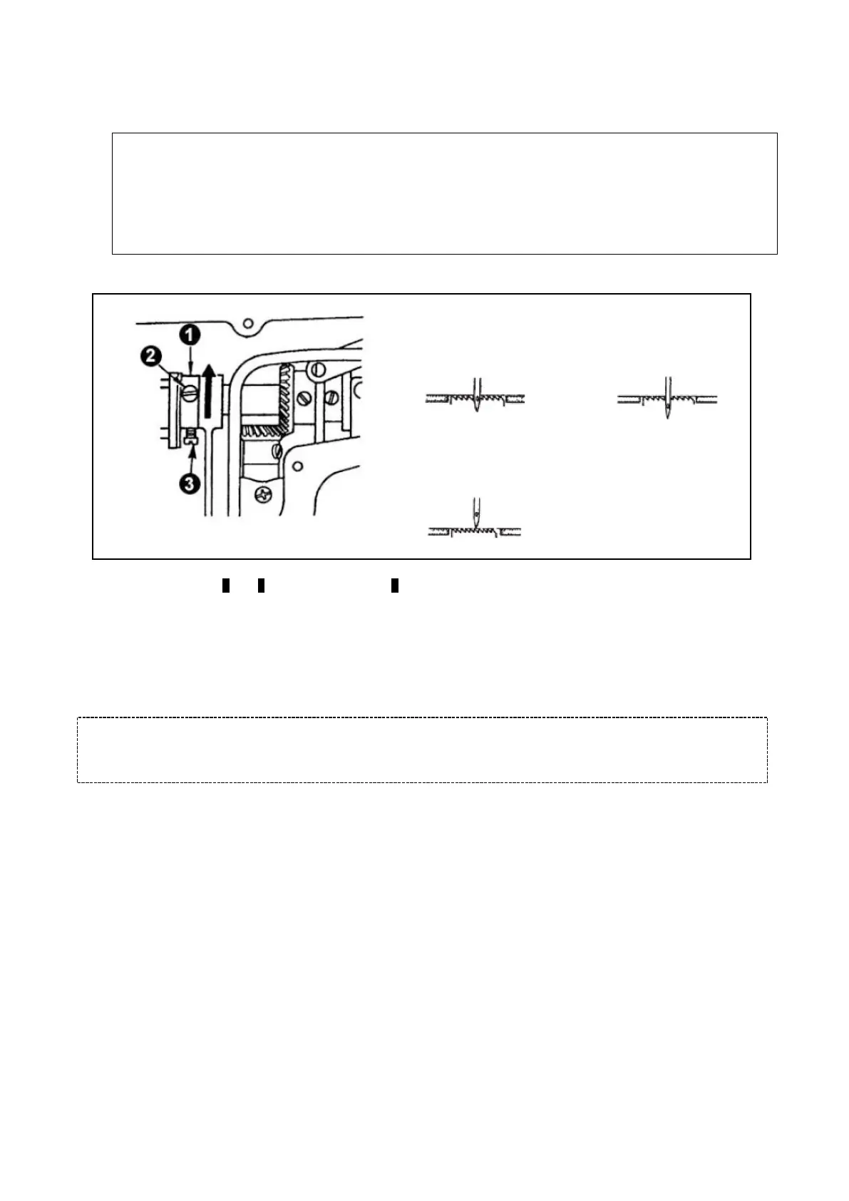
21. ADJUSTING THE FEED TIMING
1)
Loosen screws 2 and 3 in feed eccentric cam 1, move the feed eccentric cam in the direction of the arrow or
opposite direction of the arrow, and firmly tighten the screws.
2)
For the standard adjustment, adjust so that the top surface of feed dog and the top end of needle eyelet are flush
with the top surface of throat plate when the feed dog descends below the throat plate.
3)
To advance the feed timing in order to prevent uneven material feed, move the feed eccentric cam in the direction of the
arrow.
4)
To delay the feed timing in order to increase stitch tightness, move the feed eccentric cam in the opposite, direction from
the arrow.
Standard feed timing
Delayed feed timing
Advanced feed timing

Related product manuals