EasyManua.ls Logo

ALFRA ROTABEST 60 RL-E - Descripción del Dispositivo

Default Icon
Print Icon
To Next Page IconTo Next Page
To Next Page IconTo Next Page
To Previous Page IconTo Previous Page
To Previous Page IconTo Previous Page
Loading...
32
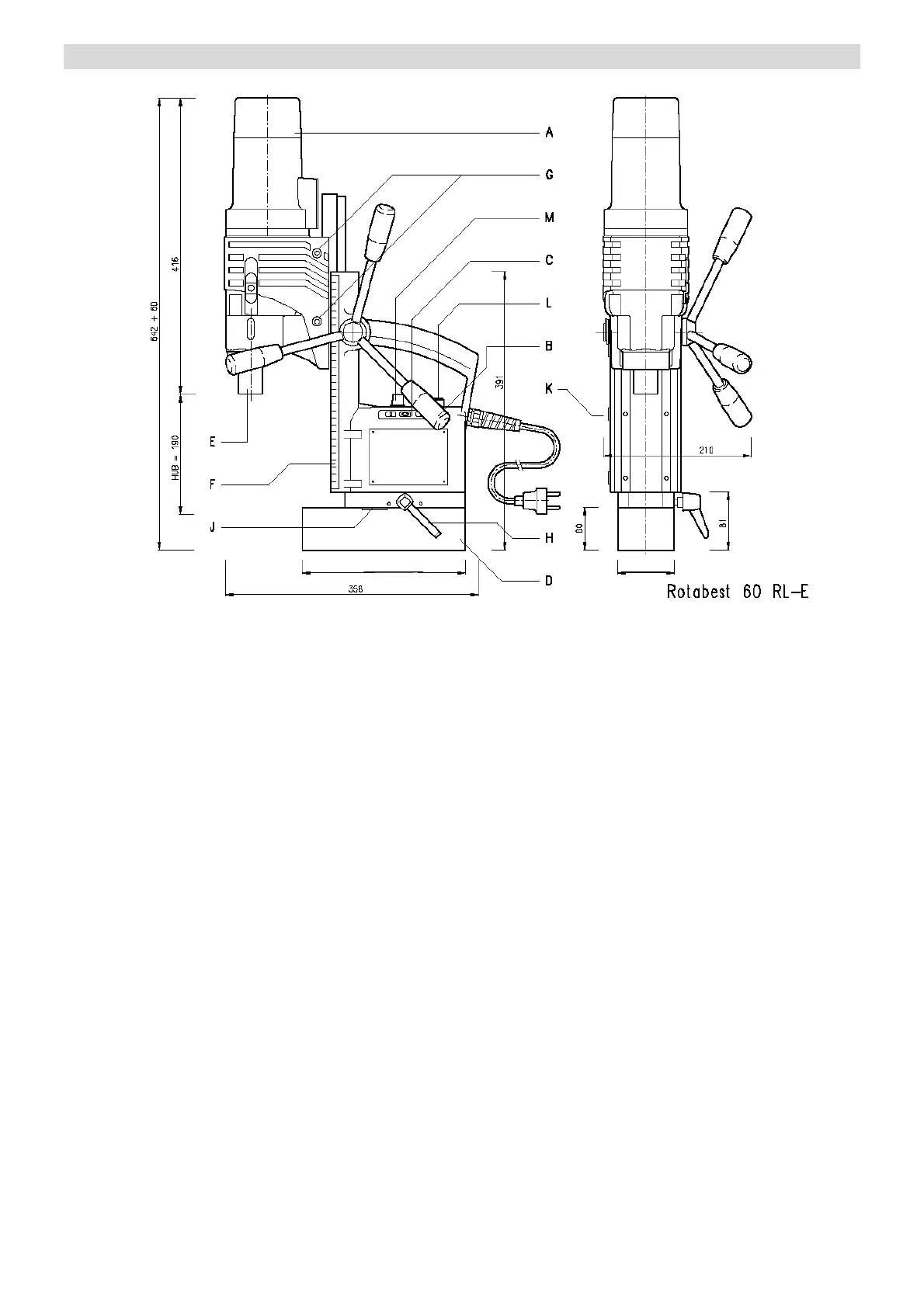
Descripción del dispositivo
A) Motor de accionamiento
H) Palanca para pie imán
B) Cruceta
J) Escotadura para cinturón de seguridad
C) Panel de control
K) Tornillos de ajuste para ajustar el carro
D) Pie imán
L) Pulsador para giro a izquierda
E) Husillo portabrocas CM 3
M) Control de velocidad
F) Escala de profundidad
G) Tornillos allen para ajuste del campo de carrera del
motor de accionamiento
238
92

Table of Contents

Related product manuals