EasyManua.ls Logo

Alpine 3523 - Lead Identifications

Alpine 3523
14 pages
Print Icon
To Next Page IconTo Next Page
To Next Page IconTo Next Page
To Previous Page IconTo Previous Page
To Previous Page IconTo Previous Page
Loading...
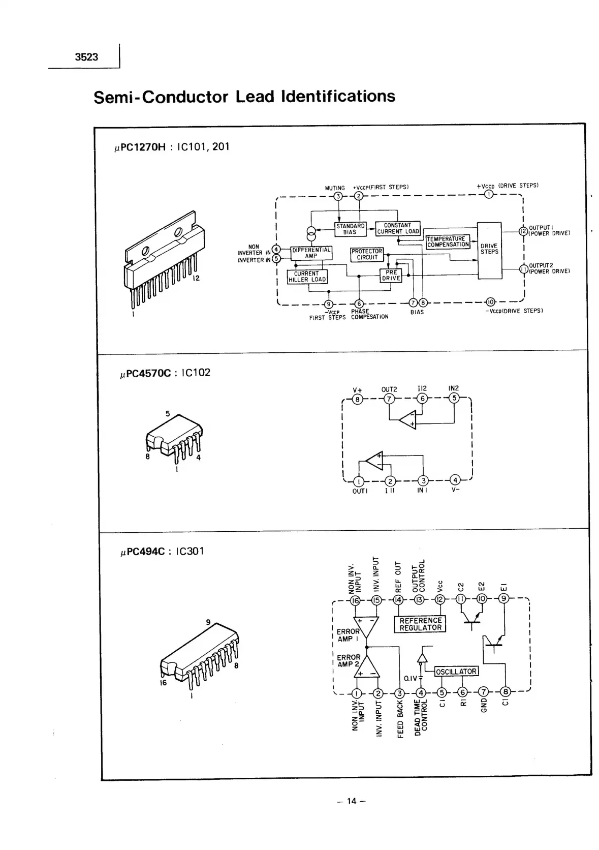
3523
|
Semi-Conductor
Lead
Identifications
uPC1270H
:
1C101,
201
MUTING
+VccP(FIRST
STEPS)
+Vcco
(DRIVE
STEPS)
CONSTANT
CURRENT
LOAD
BIAS
—Veco(DRIVE
STEPS)
uPC4570C
:
1C102
ooo
Ne
a
ek
es
ee
ee
f
é
<=
I
uPC494C
:
1C301
NON
INV
INPUT
(Gr)
INV.
INPUT
Vcc
_
~
oO
ue
Lil
0
a
(4
=)
C2
(SB)
£2
(0)
E
|
}
REFERENCE
REGULATOR
a
oT
a
ao
a
C1@)
|
INV.
INPUT
(ry)
FEED
BACK)
a
ee
'

Related product manuals