EasyManua.ls Logo

Alpine iLX-W650E - Page 47

Alpine iLX-W650E
50 pages
Print Icon
To Next Page IconTo Next Page
To Next Page IconTo Next Page
To Previous Page IconTo Previous Page
To Previous Page IconTo Previous Page
Loading...
47-EN
Con
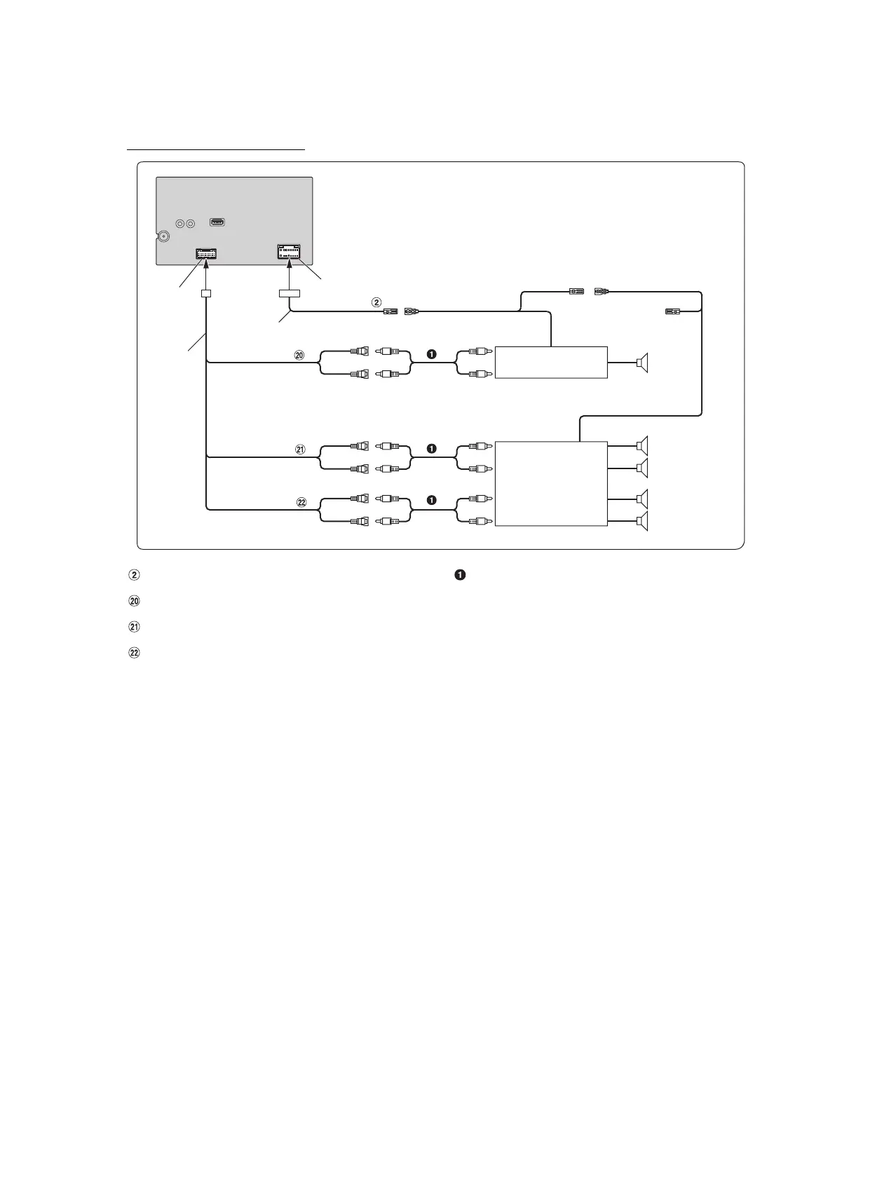
nection of an External Amplifier
Remote Turn-On Lead (Blue/White)
Subwoofer RCA Connectors
Front Output RCA Connectors
Rear Output RCA Connectors
RCA Extension Cable (sold separately)
CAMERA/
PRE OUT
Connector
Power Supply Connector
(Blue/White)
REMOTE ON
(Blue/White)
Subwoofer
REMO
Amplifier for subwoofer
(sold separately)
To subwoofer input terminal
SUBW
FRONT OUT
REAR OUT
To front input terminal
Amplifier 4 ch
(sold separately)
To rear input terminal
Front speaker
Rear speaker
REMOTE ON
(Blue/White)
(Red)
(White)
(Red)
(White)
Power cable
PRE OUT cable

Table of Contents

Related product manuals