EasyManua.ls Logo

Alto-Shaam AS-250

Alto-Shaam AS-250
24 pages
To Next Page IconTo Next Page
To Next Page IconTo Next Page
To Previous Page IconTo Previous Page
To Previous Page IconTo Previous Page
Loading...
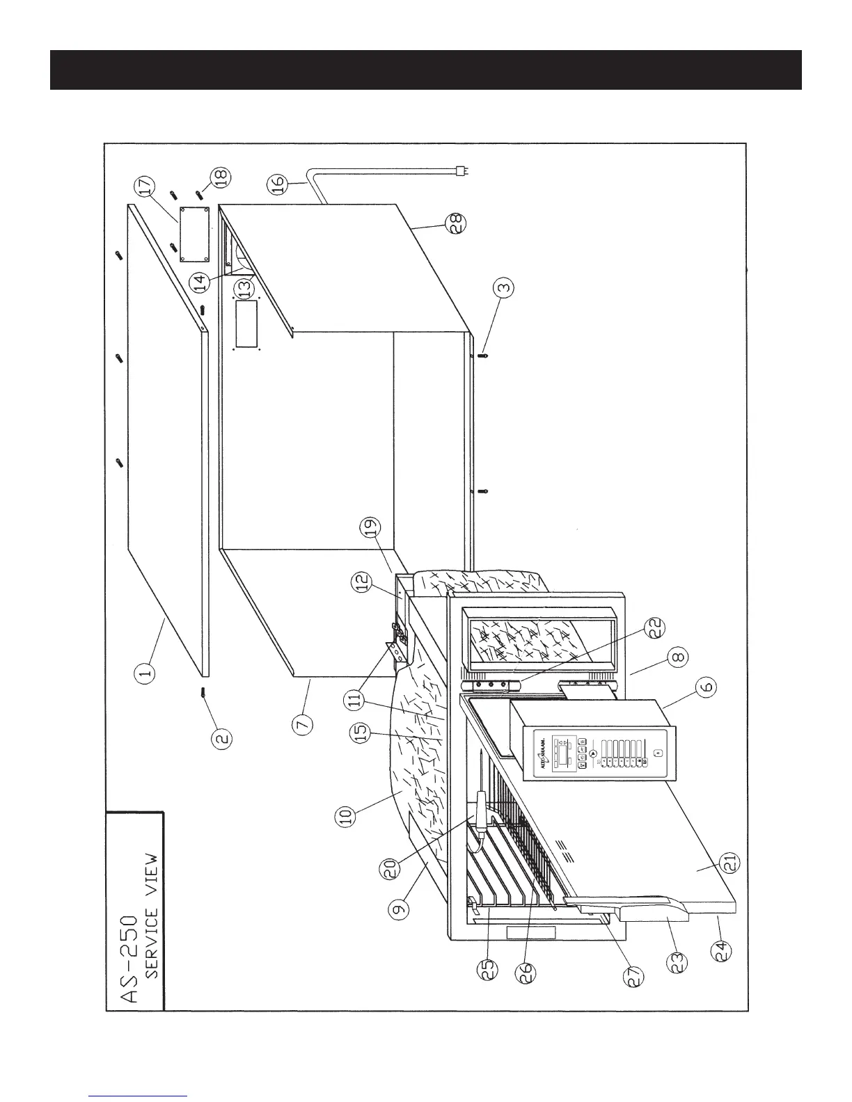
pg. 18 AS-250 inStAllAtion/operAtion/Service mAnuAl
AS-250 - EXTERIOR SERVICE VIEW
SERVICE

Other manuals for Alto-Shaam AS-250

Related product manuals