EasyManua.ls Logo

Amano CP-5000 - Chapter 4: Programming; General Programming Guidelines; Entering Program Mode

Amano CP-5000
68 pages
Print Icon
To Next Page IconTo Next Page
To Next Page IconTo Next Page
To Previous Page IconTo Previous Page
To Previous Page IconTo Previous Page
Loading...
CP-5000 User’s Guide 4-1
Chapter 4: Programming
Introduction
The CP-5000 must be programmed before use. There are two types of
programming: Basic and Weekly.
Basic Programming is used to program clock functions such as time,
date, time display, Daylight Saving Time (DST) adjustment, and card
imprint.
Weekly Programming consists of activating specific features of the CP-
5000 such as the activation of the built-in buzzer, triggering the relay
signal contacts, and changing the ribbon color at predetermined times of
the day and on specific days of the week.
General Programming Guidelines
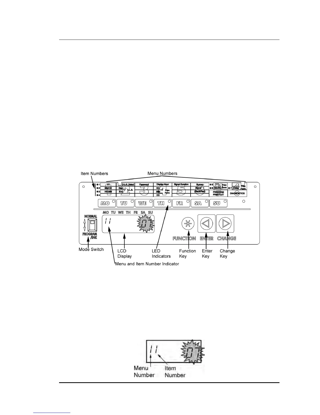
Entering Program Mode
Note: ESD precautions should be observed when removing the top
cover.
To enter the Program Mode, remove the top cover and place the Mode
Switch in the Program/Ink position. After entering the password (page 4-
6), the first program menu/item (see Item 5 , page 4-13) will appear in
the display and the first LED indicator will illuminate.

Table of Contents

Other manuals for Amano CP-5000

Related product manuals