EasyManua.ls Logo

American Standard SELECTRONIC 6065.521 - Selectronic Flush Valve General Description

American Standard SELECTRONIC 6065.521
11 pages
Print Icon
To Next Page IconTo Next Page
To Next Page IconTo Next Page
To Previous Page IconTo Previous Page
To Previous Page IconTo Previous Page
Loading...
3
M965646 REV. 1.9 (9/18)
1. Installation Instructions
2. Flush Valve Body Assembly
3. Vacuum Breaker Tube
4. Spud Coupling Nut and Washers
5. Spud Flange
6. Wall Escutcheon
7. Cover Tube
8. Sweat Adapter
9. Stop Valve
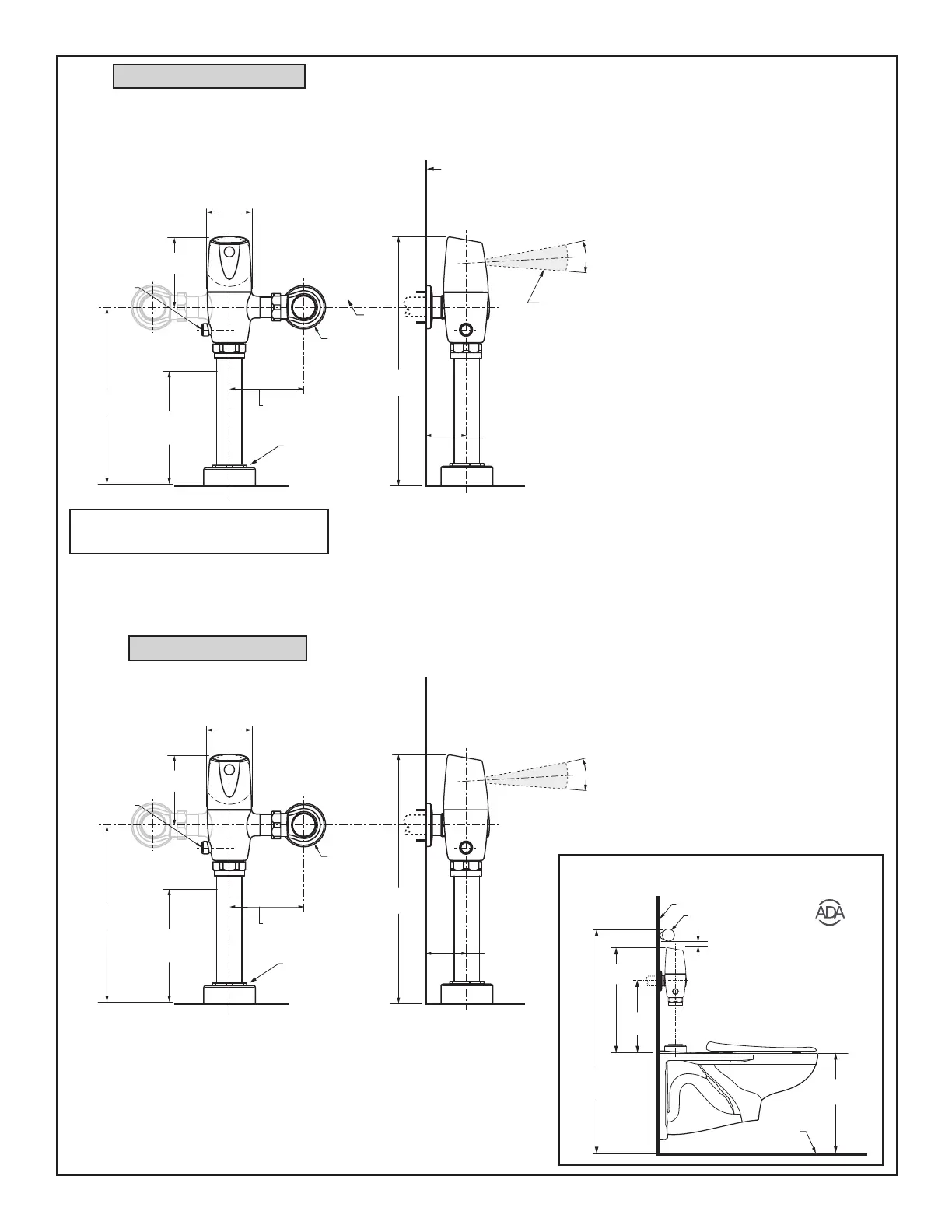
GENERAL DESCRIPTION:
SELECTRONIC® PROXIMITY TOILET FLUSH VALVE
Exposed Flushometer for 1-1/2” Top Spud Fixtures
419 mm
(16-1/2")
292 mm
(11-1/2")
127 mm
(5")
73 mm
(2-7/8")
(NPT de 1")
15˚
170 mm MÁX.
(6-11/16") MÁX.
406 mm
(16")
292 mm
(11-1/2")
114 mm
(4-1/2")
73 mm
(2-7/8")
(NPT de 1")
15˚
170 mm MÁX.
(6-11/16") MÁX.
*Note: The Critical Line (-C-L-) on Vacuum
Breaker must typically be 6
" (152mm) above
fixture. Consult Codes for details.
-C-L-
SUPPLY
(1" NPT.)
FINISHED WALL
108mm-134mm
(4-1/4" TO 5-1/4")
FOR 1-1/2" TOP
SPUD FIXTURES
MANUAL
OVERRIDE
BUTTON
DETECTION ZONE
400mm-800mm
(15-3/4 TO 31-1/2)
*-C-L-
152mm MIN.
(6") MIN.
108mm-134mm
(4-1/4" TO 5-1/4")
FOR 1-1/2" TOP
SPUD FIXTURES
152mm MIN.
(6") MIN.
MANUAL
OVERRIDE
BUTTON
Fig. 1 (Before November 2017)
Roughing-in Dimensions
Right or Left Hand Installation
See (Section 5) for converting Flush Valve to Left Hand Installation.
Fig. 1A (After November 2017)
FINISHED WALL
ø51 mm
(ø2") GRAB BAR (Max.)
FINISHED
FLOOR
406 mm
(16")
914 mm
(36")
GRAB BAR
HEIGHT
38 mm
(1-1/2")
419 mm
(16-1/2")
TO RIM
ADA WATER CLOSET INSTALLATION:
AFWALL
®
TOILET SHOWN
293 mm
(11-1/2")
-C-L-

Related product manuals