EasyManua.ls Logo

Anthos A6 PLUS CONTINENTAL - Opening;Closing the Water Unit Side Cover

Default Icon
122 pages
Print Icon
To Next Page IconTo Next Page
To Next Page IconTo Next Page
To Previous Page IconTo Previous Page
To Previous Page IconTo Previous Page
Loading...
A3 PLUS - A5 - A6 PLUS - L6
SURGICAL SINGLE CART
EN
89
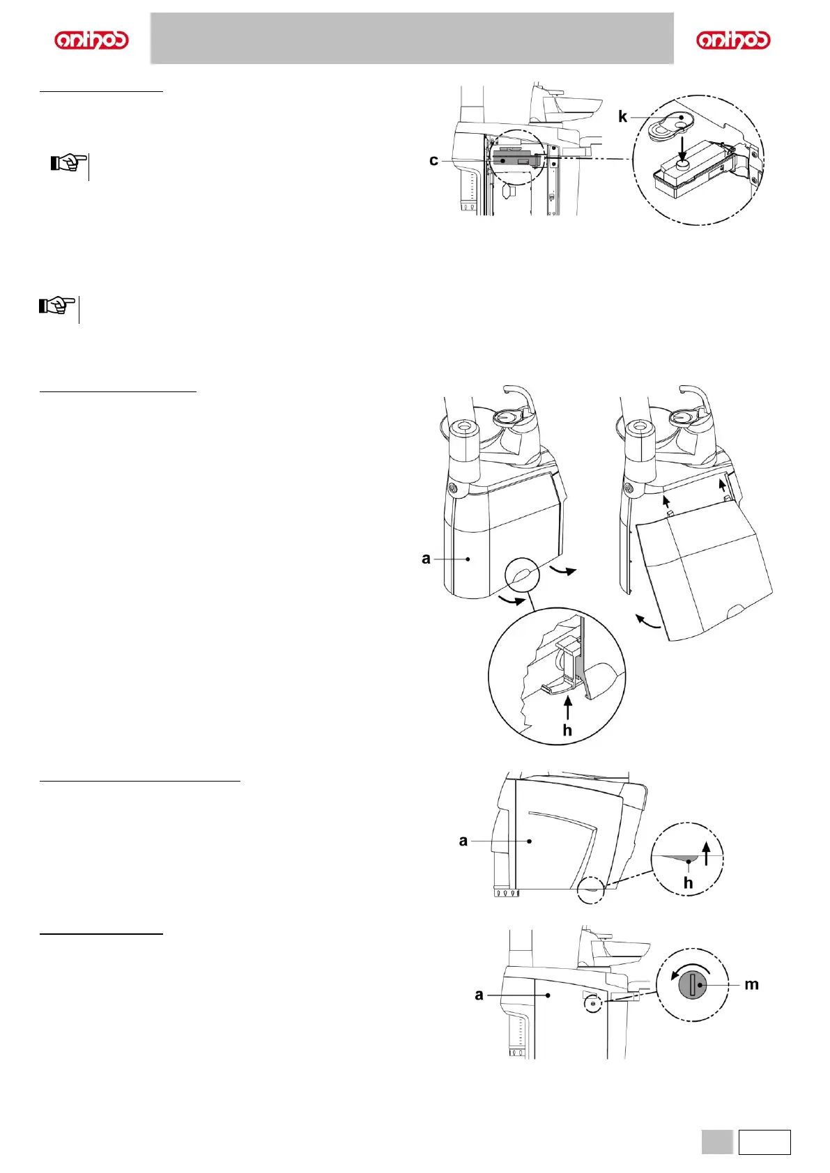
Dental units of L6 model:
Open the water side unit cover (see paragraph 7.7.).
Rotate the tank (c).
Remove plug (k) and pour disinfectant fluid inside tank until it is full.
Tank capacity: 800 cc approx.
The plug shape allows it to be used as a funnel to make filling
easier.
Refit plug and tank.
Close the water unit side cover.
Stopping the flushing cycle.
If system detects a malfunction, a warning message will be displayed
(see paragraph 10).
Once stop causes are removed, the flushing cycle will restart
automatically.
7.7. OPENING/CLOSING THE WATER UNIT SIDE COVER
Dental units of A3 PLUS model:
Opening the cover.
Open the cover on the side of the water unit (a) after pushing up and
releasing the lock lever (h).
Closing the cover.
Put on the cover making sure the two locks are inserted in the notches
in the water unit.
Bring the bottom of the cover near the water unit frame to engage the
lock lever (h) again.
Dental units of A5 and A6 PLUS models:
Opening the cover.
Disengage water unit side cover (a) by grasping handle (h) and pulling
it up.
Open the cover by turning it outwards.
Closing the cover.
Close the cover until you feel the mechanical locking of the handle (h).
Dental units of L6 model:
Opening the cover.
Unlock the water unit side cover (a) by turning the lock (m) anti-
clockwise using a tool.
Open the cover by turning it outwards.
Closing the cover.
Close the water unit side cover and lock it by turning the lock (m)
clockwise.

Table of Contents

Related product manuals