EasyManua.ls Logo

Apollo GX50 GPS - Rs-232 Serial

Default Icon
74 pages
Print Icon
To Next Page IconTo Next Page
To Next Page IconTo Next Page
To Previous Page IconTo Previous Page
To Previous Page IconTo Previous Page
Loading...
Installation
20 Apollo GX50/60/65 Installation Manual
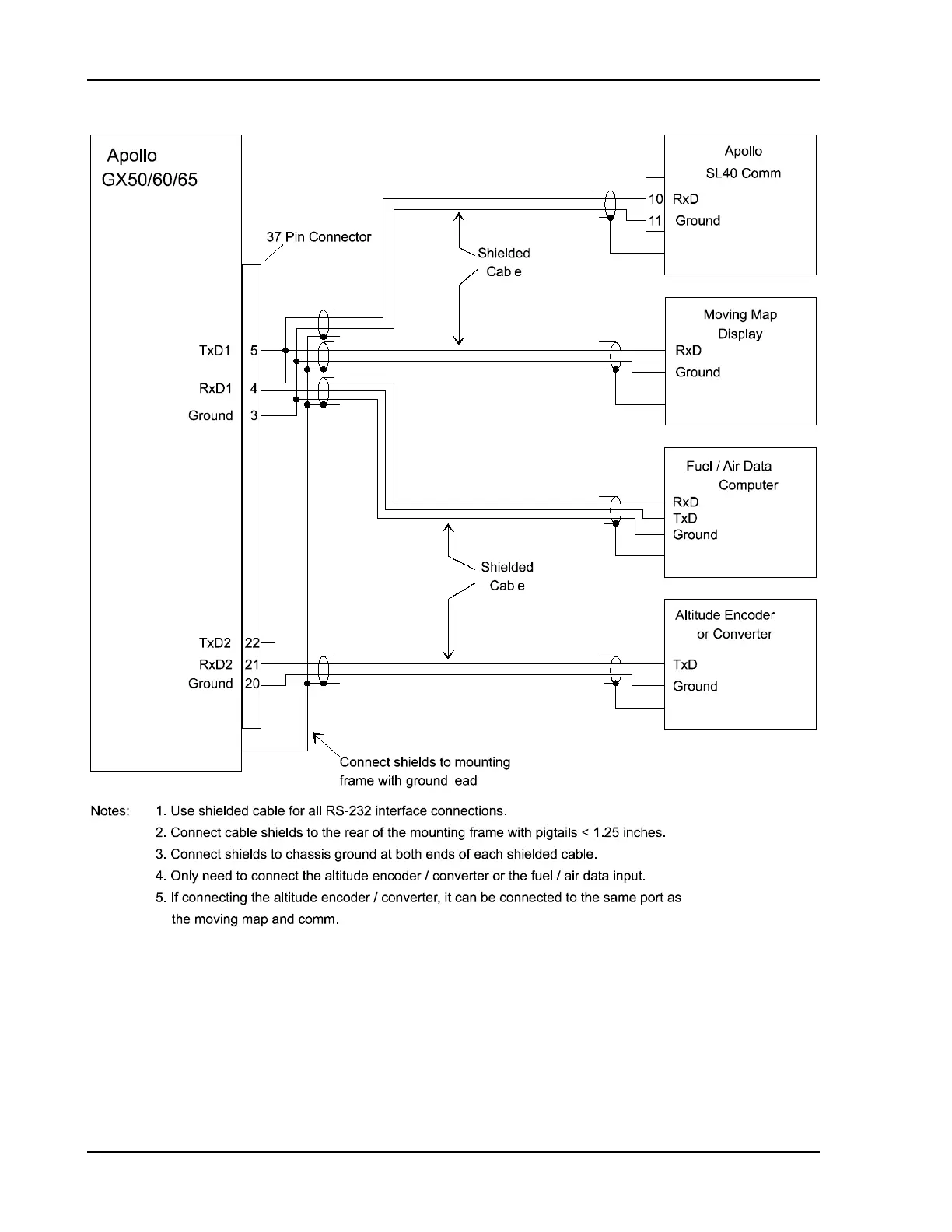
Figure 12 RS-232 Serial Connections

Table of Contents