EasyManua.ls Logo

Ashford Jack Loom - Page 3

Ashford Jack Loom
16 pages
Print Icon
To Next Page IconTo Next Page
To Next Page IconTo Next Page
To Previous Page IconTo Previous Page
To Previous Page IconTo Previous Page
Loading...
3
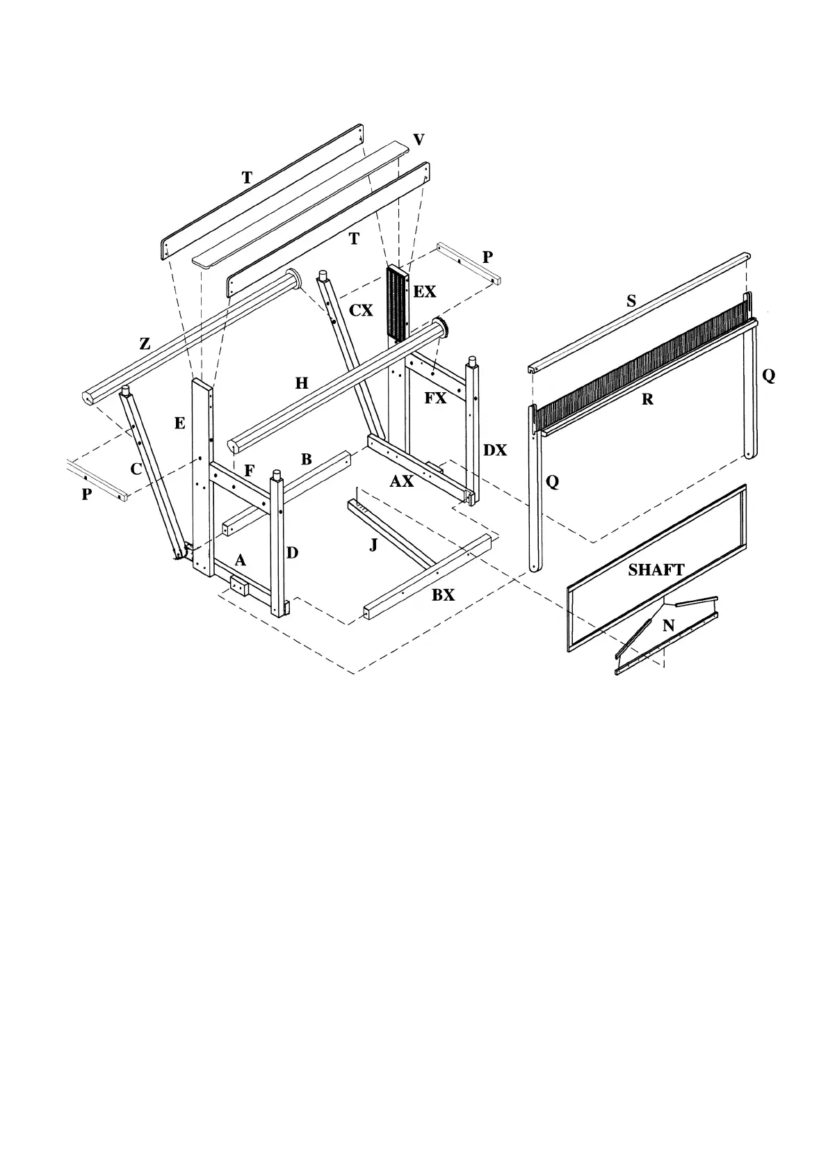
OVERVIEW
HARDWARE CHECKLIST
1 – M8 x 50 Hex Head Bolt
6 – M6 x 80 Hex Head Bolt
2 – M6 x 100 Hex Head Bolt
2 – M6 x 65 Hex Head Bolt
1 – M8 x 100 Cup Head Bolt
4 – M6 x 50 Cup Head Bolt
1 – M6 x 40 Cup Head Bolt
9 – M6 x 65 Cup Head Bolt
2 – M6 x 75 Cup Head Bolt
3 – M6 x 70 Cup Head Bolt
28 – M6 X 16 Washer
6 – M6 x 22 Washer
1 – M8 x 19 Washer
48 – M8 x 25 Washer
8 – 8 x 2 Screw
2 – 45mm Clip Rings
8 – 8 x 1 ½ Screw
1 – 12 x 1 Pan Head Screw
2 – 6 x ½ Pan Head Screw
1 – M11 x 4 Brass Spacer
1 – 6.5 x 40 Cotter Pin
3 – 50mm Screw Hook
1 – M8 Hex Nut
1 – M10 Hex Nut
1 – M8 Nylock Nut
15 – M6 Nylock Nut
16 – M11 Rubber Buffer
2 – M16 Rubber Buffer
20 – 3/32 Dome Caps (4 spares)
10 – M6 Barrel Nut
2 – M10 Spanner
1 – M13 Spanner
6 – M6 Nylon Knob
101 – Texsolv Straight Peg
16 – Harness Hook
1 – Heddle Hook - Double ended
1 – Heddle Hook - Metal
80 – Texsolv Treadle Cord 30cm
14 – Texsolv Warping Cord 80cm
8 – Texsolv Heddles 268, bundles of 100
6 – M8 x 170 Steel Rods - Lever Assembly
2 – 5/8 x 75 Steel Shaft - Cloth beam and
Warp Roller
2 – M6 x 180 Threaded Rod with Dome Nut

Related product manuals