EasyManua.ls Logo

Ashley AC2000 - Page 39

Ashley AC2000
48 pages
Print Icon
To Next Page IconTo Next Page
To Next Page IconTo Next Page
To Previous Page IconTo Previous Page
To Previous Page IconTo Previous Page
Loading...
-10-
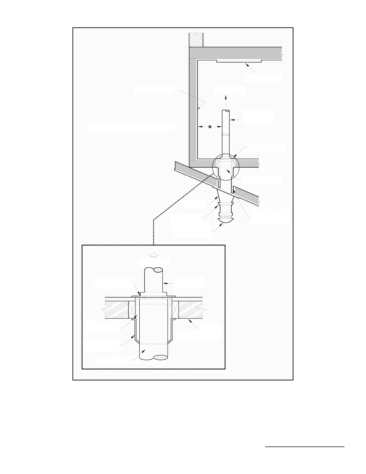
CHEMINÉE PRÉFABRIQUÉE
Les directives d’installation du fabricant doit être observées lors de l’installation d’une cheminée préfabriquée
en métal. Vous devez aussi acheter (auprès du même fabricant) et installer la trousse de xation au plafond
ou une trousse de passage dans les murs ou section en T, des coupe-feu (au besoin), des écrans d’isolation, du
solin de toit, un couronnement pour la cheminée, etc. Respectez les dégagements appropriés par rapport à la
structure tel que recommandé par le fabricant. La cheminée doit être à la hauteur exigée au-dessus du toit ou
de toute obstruction an d’assurer un fonctionnement sécuritaire et approprié du tirage.
Écran d’isolation
du grenier
Dégagement
spécifié
Support de plafond
Vers le poêle
Vers le poêle
Conduit de
raccordement
de cheminée
Support de plafond
Cheminée
homologué
Garder un
dégagement
de 2 po
Chapeau
homologué
Mur combustible
* Consulter Dégagement des combustibles
Protecteur de plancher
Conduit de
raccordement
de cheminée
Solive de toit
combustible
Cheminée homologué
Mitre
Solin

Related product manuals