EasyManua.ls Logo

Asko TDC33 - Exterior and Fan Cleaning

Asko TDC33
86 pages
Print Icon
To Next Page IconTo Next Page
To Next Page IconTo Next Page
To Previous Page IconTo Previous Page
To Previous Page IconTo Previous Page
Loading...
75
TUMBLE DRYING
TUMBLE DRYING
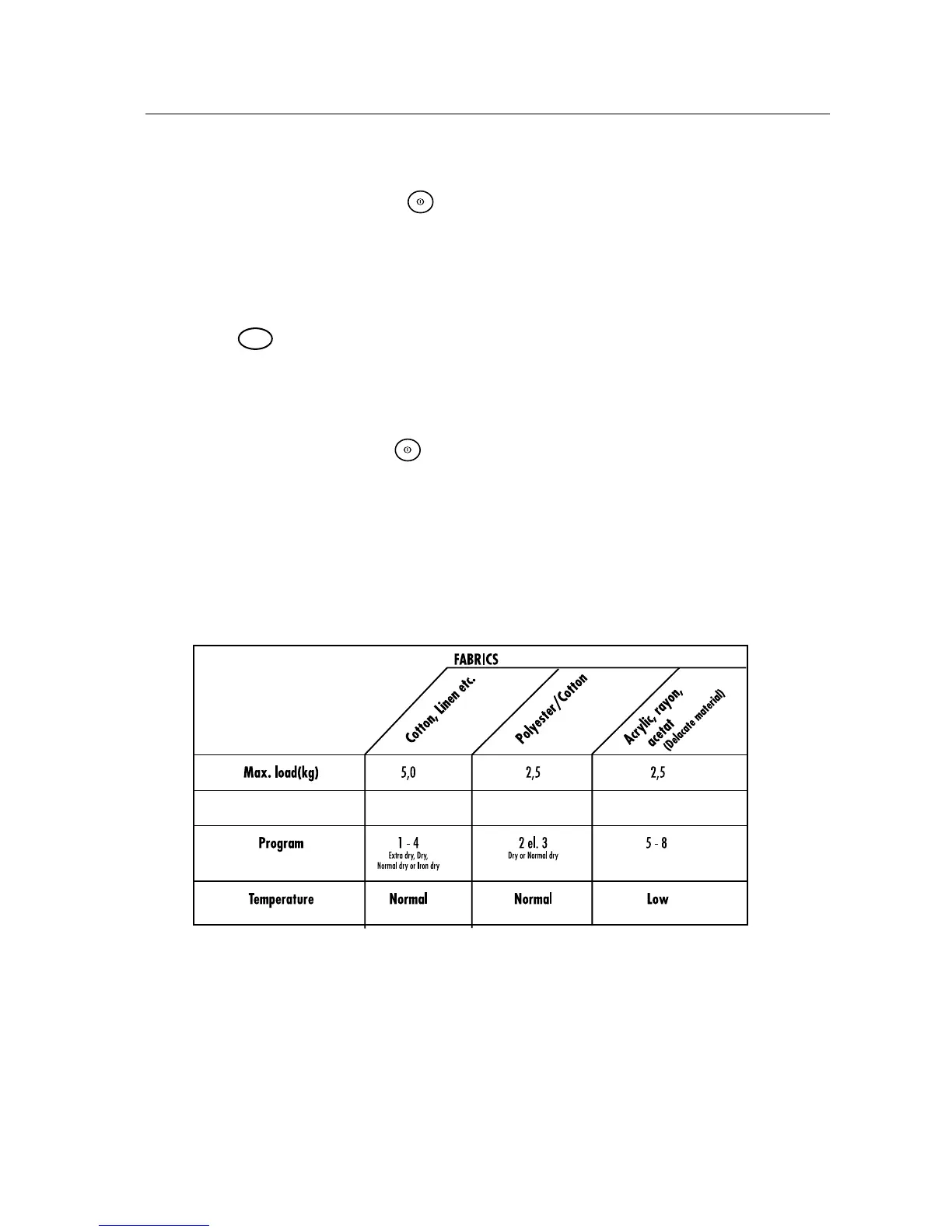
1. Sort the laundry.
2. Set the main power switch to on, .
3. Check the fluff filter.
4. Put the laundry into the tumble drier.
5. Close the door.
6. Select program.
7. Press the
Start
button.
8. When the program is finished:
- Clean the fluff filter.
- For TDC44: Empty the condense water tank.
9. When you have finished tumble drying.
Set the main power switch to off, .

Table of Contents

Related product manuals