EasyManua.ls Logo

Atari CX - Page 68

Atari CX
187 pages
Print Icon
To Next Page IconTo Next Page
To Next Page IconTo Next Page
To Previous Page IconTo Previous Page
To Previous Page IconTo Previous Page
Loading...
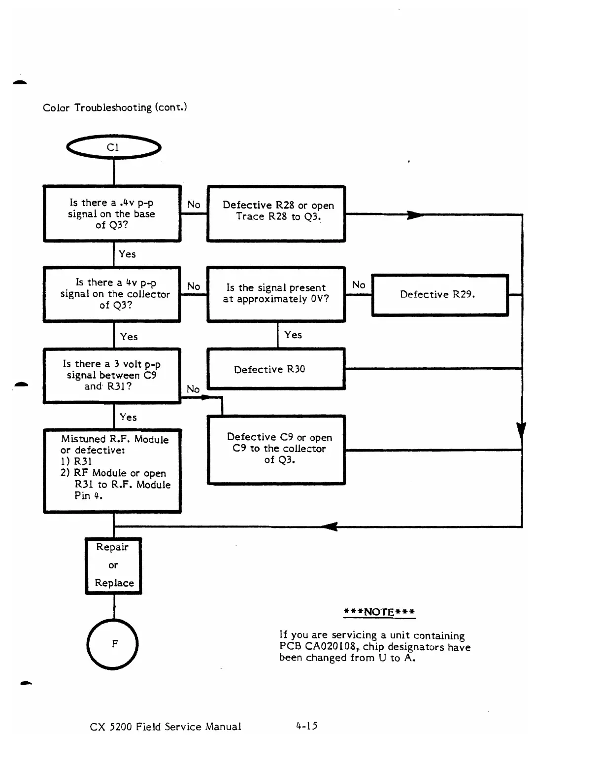
Color Troubleshooting (cont.)
I
Is
there a .4v p-p
No
signal on the base
of Q3?
1
b
Defective R28 or open
Trace R28
to
43..
1
Yes
I
I
Is there a 4v p-p
No
IS
the signal present
No
signal on the collector
'
at
approximately
OV?
Defective
R29.
I
of Q3?
I
I
b
I
yes
I
Yes
Is there a
3
volt p-p
signal between
C9
Defective
R30
,-
and R31?
1
Yes
1
J
Mistuned R.F. Module
or defective:
1)
R31
2)
RF
Module or open
R31
to
R.F.
Module
Pin
4.
Defective
C9
or open
I
C9
to the collector
CX
5200
Field Service Manual
If
you are servicing
a
unit containing
PCB
CA020
108,
chip designators have
been
changed from
U
to
A.

Related product manuals