EasyManua.ls Logo

Atari CX - Page 69

Atari CX
187 pages
Print Icon
To Next Page IconTo Next Page
To Next Page IconTo Next Page
To Previous Page IconTo Previous Page
To Previous Page IconTo Previous Page
Loading...
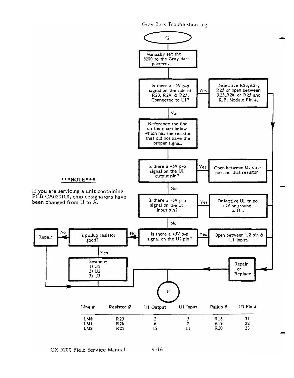
Gray
Bars Troubleshooting
I
Manually set the
5200 to the Gray Bars
att tern.
I
I
1
B
Is
there
a
+5V p-p
signal on the side of
Yes
R23,
R24,
&
R25.
Connected to
U
1
?
I
Defective
R23,R24,
R25
or open between
R23,R24, or
R25
and
R.F.
Module Pin 4.
Is
there
a
+5V
p-p
signal on the
U1
output pin?
2
A
Swapout
Repair
2)
U2
I
or
3)
U3
Replace
No.
Reference the line
on
the chart below
which has the resistor
that did not have the
proper signal.
b
I
No
If
you
are servicing
a
unit
containing
Line
#
Resistor
#
Ul
Output
U1
Input
Pullup
#
US
Pin
#
I
Yes
I
CX
5200
Field
Service Manual
I
Open between
U1
out-
put
and
that resistor.
I
PCB
CA020108,
chip designators
have
been
changed
from
U
to
A.
-
Is there
a
+5V p-p
signal on
the
U1
input pin?
yes
L
Defective
U1
or no
+5V or ground
to
U1.
b

Related product manuals