EasyManua.ls Logo

Atari CX - Page 92

Atari CX
187 pages
Print Icon
To Next Page IconTo Next Page
To Next Page IconTo Next Page
To Previous Page IconTo Previous Page
To Previous Page IconTo Previous Page
Loading...
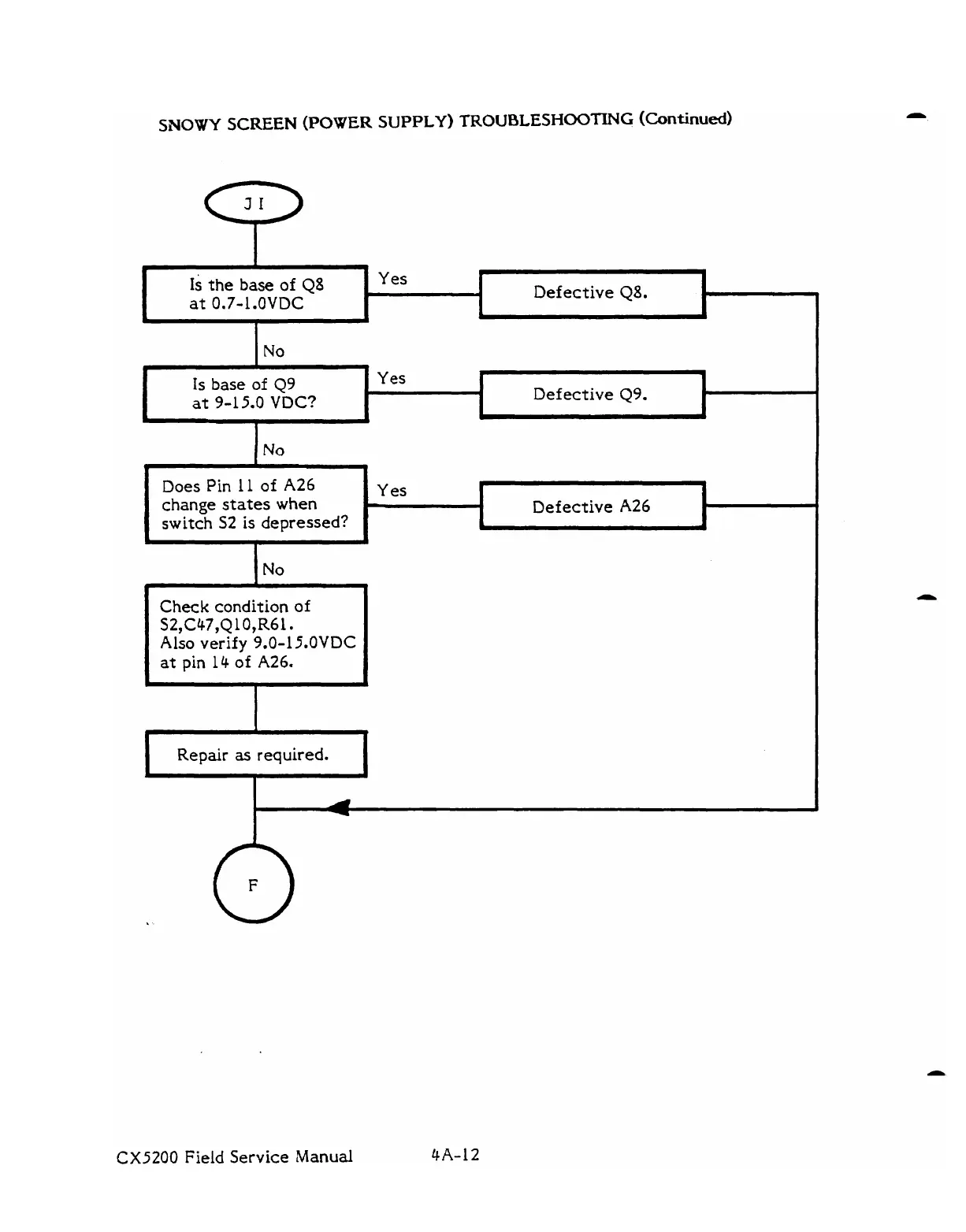
SNOWY
SCREEN
(POWER SUPPLY)
TROUBLESHOOmG
(continued)
I
L
IS
the
base
of
Q8
at
0.7-1.OVDC
F
A
Is base
of
Q9
at
9-15.0
VDC?
I
Check condition of
I
L
Yes
Defective
Q9.
I
NO
I
S2,C47,Q1O,R6le
Also
verify
9.0-15.OVDC
I
I
J
b
J
I
1
Does
Pin
11
of
A26
change
states
when
switch
S2
is
depressed?
2
(
at
pin
14
of
A26.
I
.
Yes
I
Repair
as
required.
r
1
i
Defective
Q8.
I
Yes
CX5200
Field
Service
Manual
L
J
Defective
A26
J
i
I

Related product manuals