EasyManua.ls Logo

Atari CX - Page 95

Atari CX
187 pages
Print Icon
To Next Page IconTo Next Page
To Next Page IconTo Next Page
To Previous Page IconTo Previous Page
To Previous Page IconTo Previous Page
Loading...
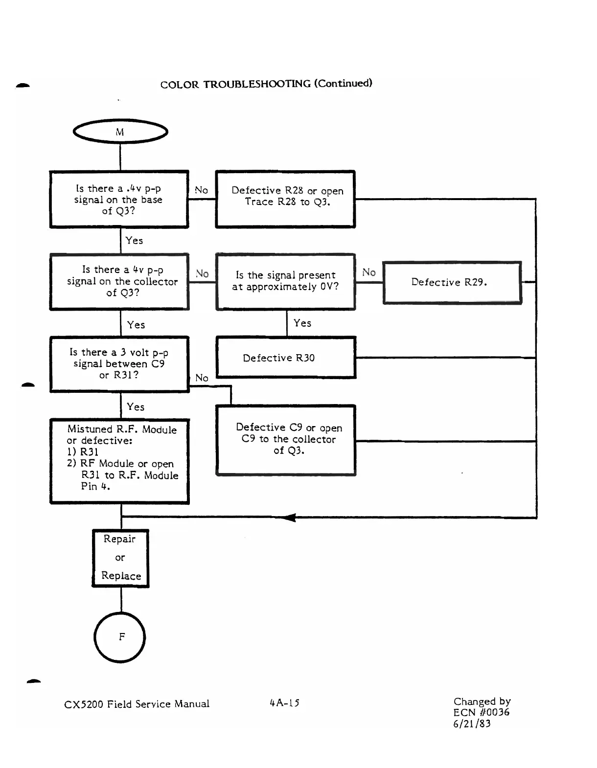
COLOR
TROUBLFHOOmG
(Continued)
I
Is
there a
.4v
p-p
signal
on
the
base
of
Q3?
1
Yes
I
Is there
a
4v
p-p
signal
on
the collector
of Q3?
I
Yes
Defective
R28
or
open
Trace
R28
to
43.
Is
the signal present
at approximately
OV?
Defective
R29.
t
I
Yes
Is
there
a
3
volt
p-p
signal between
C9
Defective
R30
or R31?
-
Mistuned R.F. Module
or
defective:
1)
R31
n
2)
RF
Module or open
R31
to R.F. Module
Pin
4.
Defective
C9
or open
I
C9
to the collector
CX5200
Field
Service Manual
Changed
by
ECN
//0036
6/21
/83

Related product manuals