EasyManua.ls Logo

Atari CX - Page 94

Atari CX
187 pages
Print Icon
To Next Page IconTo Next Page
To Next Page IconTo Next Page
To Previous Page IconTo Previous Page
To Previous Page IconTo Previous Page
Loading...
COLOR
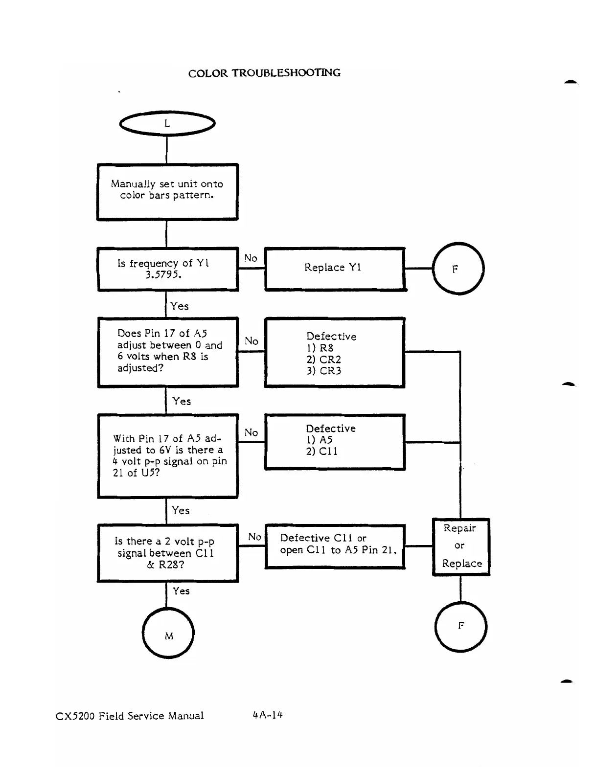
TROUBLESHOOTING
1
Yes
b
I
Does
Pin
17
of
A5
No
Defective
adjust between
0
and
1)
R8
6
volts
when
R8
is
2)
CR2
adjusted?
3)
CK3
i
L
I
Is
frequency
of
Y1
3.5795.
J
1
Yes
1
No
L
J
Defective
Replace
Y1
I
With
Pin
17
of
A5
ad-
I
""
I
.
I
iusted
to
6V
is
there
a
I
1
I
Yes
I
Is
there
a
2
volt
p-p
Defective
C
1
1
or
signal
between
C11
open
Cll
to
A5
Pin
21.
&
R28?
1
Yes
Replace
CX5200
Field Service
Manual