LINKING
Connect games together electronically to permit simultaneous competition between players. The linking
cables are factory installed in each cabinet. Crossover couplers are supplied in the spare parts. Once
connected, games can operate individually (as before) or in linked mode as players desire.
Players quickly learn to associate joined cabinets with linked operation. If possible, attach the cabinets
together to form an array. You may separate cabinets by up to 25 ft. (7.6m) if necessary.
A crossover coupler can link only two cabinets. Up to eight cabinets can be interconnected to form a Local
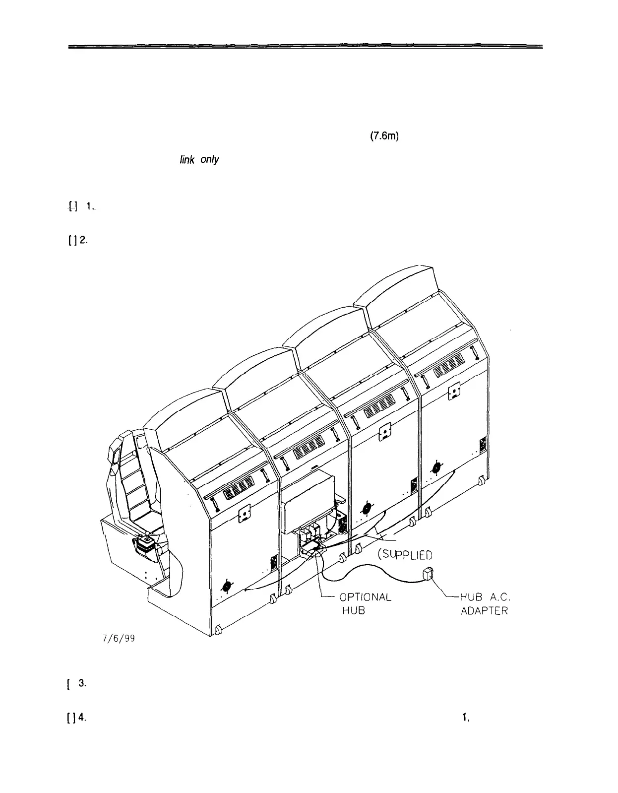
Area Network (LAN). The optional Hub Link Kit is required to manage this network. The hub has circuitry
to prevent errors from data collisions (several games sending data at the same time, etc.).
$1
IL
Insert the free end of each linking cable into a receptacle in the crossover coupler. Press firmly to
seat the contacts. The locking tab will snap into place when the plug mates properiy with tine jack.
[12-
Place the connected coupler inside one of the cabinets. Place the coupler on the floor under the
electronics. Retract any excess cable back into the cabinets so that it does not touch the floor.
LINKING CABLE
PPLIED WITH GAME)
GNC00002
TYPICAL HUB INSTALLATION
1
I
3.
Use a hub to link more than two game cabinets. Active electronics permit the use of long cables,
allowing remote hub location. The optional Hub Linking Kit has detailed instructions.
[Id*
Enter the menu system and set each linked cabinet to a different number (Cabinet
1,
2, 3, etc.).
1-12