EasyManua.ls Logo

Atari San Francisco Rush 2049 - Seat Position

Atari San Francisco Rush 2049
106 pages
Print Icon
To Next Page IconTo Next Page
To Next Page IconTo Next Page
To Previous Page IconTo Previous Page
To Previous Page IconTo Previous Page
Loading...
SEAT POSITION
ADJUST LEVER
SEAT TRAVEL AND DETENT POSITIONS
[
]
15. Lower each seat pedestal leg leveler until the cabinet is stable and level. Adjust the levelers
raise the wheels up off the floor. Distribute the pedestal’s weight equally on each leg leveler.
to
[
]
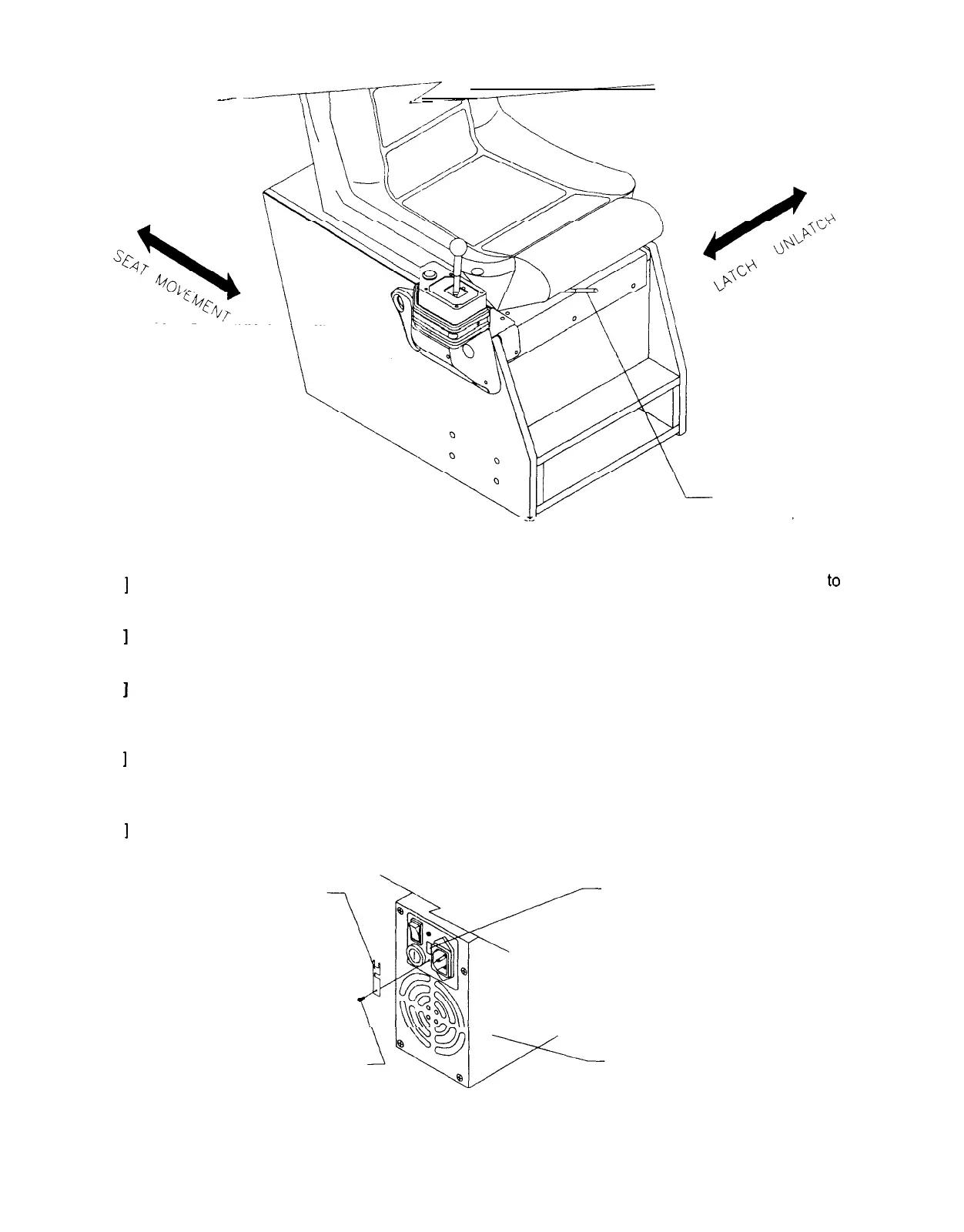
16.
Sit in the driver’s seat. Use the seat position adjustment lever to change the seat position. The
seat must move smoothly back and forth, locking securely into position when the lever is released.
[
]
17.
Repeat the previous steps for additional cabinets. Refer to the array instructions on a following
page. When all cabinets have been placed in final positions and bolted together, tighten the
leveler nuts against the plates.
[
]
18. To link cabinets (recommended), uncoil the linking cable and extend it out of each cabinet. Lay
the cable in the notch at the bottom center of the door area. After you are satisfied with individual
cabinet operation, go to the linking setup instructions page.
[
]
19.
Use a voltmeter to measure the AC line voltage. The power supply switch setting must match this
voltage. If it is incorrect, remove the switch safety plate and change the voltage switch position.
SAFETY PLATE
VOLTAGE SWITCH
MOUNTING SCREW
POWER SUPPLY
LINE VOLTAGE SWITCH ADJUSTMENT
l-8

Related product manuals