EasyManua.ls Logo

Atari San Francisco Rush 2049 - Back Plate

Atari San Francisco Rush 2049
106 pages
Print Icon
To Next Page IconTo Next Page
To Next Page IconTo Next Page
To Previous Page IconTo Previous Page
To Previous Page IconTo Previous Page
Loading...
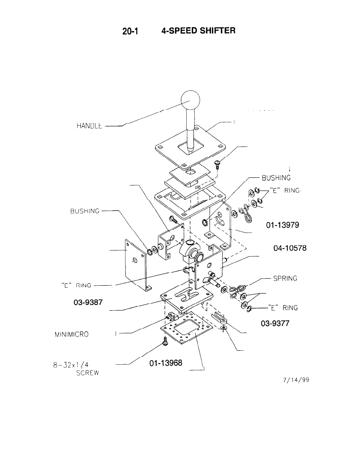
20-l 0369 4-SPEED SHIFl-ER
FRONT VIEW
HANtILt
d
31-2611
INDICATOR PLATE
4008-01003-04
8-32x1/4 P-PH
SEMS SCREW
02-5284
04-10577
SIDE PLATE, RIGHT
02-5284
FLAT WASHER
SIDE PLATE, FRONT
01-13969
SIDE PLATE, REAR
SIDE PLATE, LEFT
10-514
FLAT WASHER
GATE BLOCK
5647-14574-00
MINIMICRO SWITCH
4008-01003-04
8-32x1
/4
P-PH
SWITCH ACTUATOR
FLAT WASHER
SEMS Si)REW
BACK PLATE
-
GNC00023
7/14/99
3-12

Related product manuals