EasyManua.ls Logo

Atari San Francisco Rush 2049 - Page 33

Atari San Francisco Rush 2049
106 pages
Print Icon
To Next Page IconTo Next Page
To Next Page IconTo Next Page
To Previous Page IconTo Previous Page
To Previous Page IconTo Previous Page
Loading...
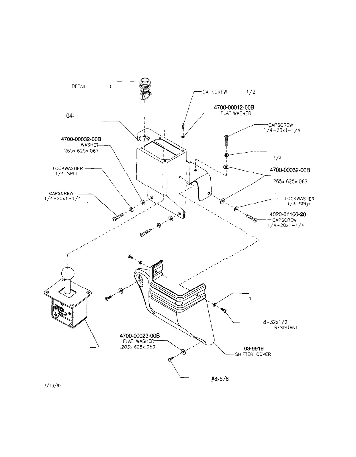
A-23202 SHIFTER ASSEMBLY
FRONT VIEW
PUSH BUTTON, WHITE
(SEE DETAIL DRAWING) 4008-01100-08
CAPSCREW 8-32x
l/2
TAMPER RESISTANT
I
4700~00012-OOB
I
04-
12675
I
/
/
TAMPER RESISTANT
-
FMT
\*,ncLlcP
.vrli\
ICI\
187x.375x.040
4020-01100-20
7
CAPSCREW
1/4-20x1
-l/4
TAMPER RESISTANT
4701-00005-008
SHIFTER HOUSING
4700~00032-008
FLAT WASHE
.265x.625x.067
4701-00005-006
4020-01100-20
LOCKWASHER
l/4
SPLIT
4700-00032-006
FLAT WASHER
.265x.625x.067
4701-00005-008
-iER
.IT
/
/’
/
/
/
I-,’
‘\
TAMPER RESISTANT
. .
‘-,
,/’
/’
/’
/’
,’
4700-00012-008
-
FLAT WASHER
i 87x.375x.040
4008-01093-08
SCREW
8-32x1/2
PH
TAMPER RESlSTANl
4-SPEED SHIFTER
(SEE DETAIL DRAWING)
4700-00023-OOB
GNC00022
7/l
3/99
4108-01193-I OB
SCREW
#8x5/8
PH
TAMPER RESISTANT
3-11

Related product manuals