EasyManua.ls Logo

Atlantic CE06 - Maintenance; Use

Atlantic CE06
Print Icon
To Next Page IconTo Next Page
To Next Page IconTo Next Page
To Previous Page IconTo Previous Page
To Previous Page IconTo Previous Page
Loading...
16
Use
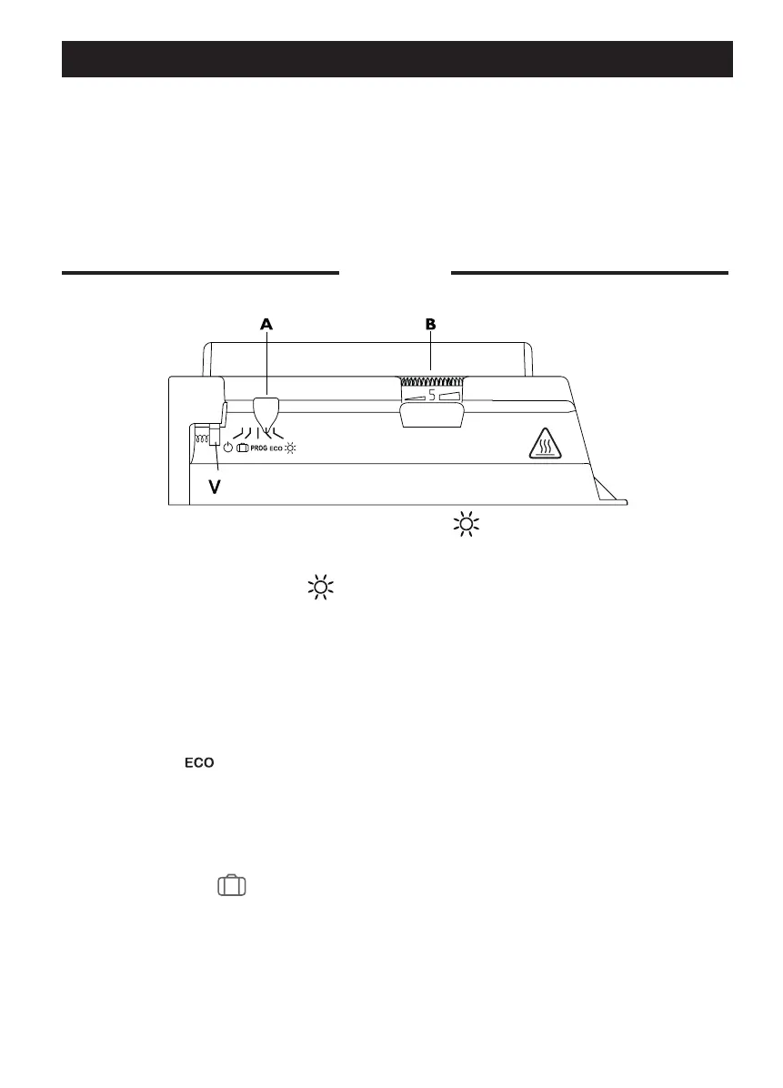
Control box
Voyant de chauffe
Setting the comfort temperature
This is the temperature desired when the room is occupied.
Set cursor A to position .
Adjust knob B to 5. The heating indicator V will illuminate if the tem-
perature is below the desired temperature.If you are not happy with
the setting, re-adjust it and proceed again.
Setting the Eco temperature
This involves a reduction in degrees compared to the Comfort temperature. We recom-
mend that you use this mode for periods of absence of more than 2 hours or overnight.
Set switch A to . The device is now in Eco mode (Comfort temperature minus approx. 3°C
to 4°C).
This light indicates periods during which the resistance is heating;
The heating light V
Locking the controls
Frost free
This mode keeps the temperature at about 7°C in the room when the house is unoccupied
for a long period (usually more than 24 hours).
Set the cursor A to .
To retain the performance of the device, it is necessary about twice a
year to carry out dust removal using a vacuum cleaner or a brush at
the air inlets and outlets. Every ve years, have the inside of the device
checked by a professional electrician. The outside of the device can be
cleaned with a damp cloth.
Never use abrasive products or solvents
.
MAINTENANCE
I
t is possible to lock or limit the range of use of thumb-wheel
B
and lock selector switch cursor
A
to prevent the inadvertent manipulation of the device (by children, etc).

Related product manuals