EasyManua.ls Logo

Atlantic CE06 - Verwendung

Atlantic CE06
Print Icon
To Next Page IconTo Next Page
To Next Page IconTo Next Page
To Previous Page IconTo Previous Page
To Previous Page IconTo Previous Page
Loading...
24
Diese zeigt die Zeiträume an, in welchen die Wi-
derstände heizen. Es ist möglich, daß sie bei stabili-
sierter Temperatur blinkt.
Es ist möglich, den Einstellbereich der Drehknöpfe
B und den Umschalt-Cursor A zu blockieren
oder zu begrenzen, um ein unbeabsichtigtes Vers-
tellen des Geräts (Kinder usw.) zu verhindern.
a) Das Gerät von seiner Wandhalterung abneh-
men.
b) Auf der Rückseite des Thermostatgehäuses, die
Pione P von ihren Halterungen lösen.
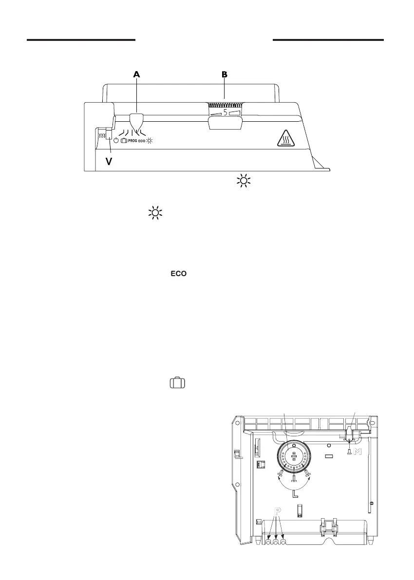
Beschreibung des Bedienungsgehäuses
Voyant de chauffe
Einstellen der Komforttemperatur
Dies ist die gewünschte Temperatur bei Benutzung des Raums.
a) Cursor A einstellen
.
b) Stellen Sie das B - Rad zwischen 4 und 5 ein. Die Heizkontrol-
lampe V leuchtet auf, wenn die tatsächliche Raumtemperatur unter
der gewünschten liegt.
Einstellen der Ökotemperatur
Es handelt sich um eine Senkung der Komfort-Temperatur um einige Grad. Es wird empfoh-
len, den Modus bei Abwesenheit von über 2 Stunden oder nachts zu benutzen.
Schieben Sie Schalter A auf ECO.
Das Gerät bendet sich im ECO-Modus (Komforttemperatur wird um ca. 3 ° C bis 4 ° C
reduziert).
Frostschutzmodus
Dieser Modus ermöglicht es, die Raumtemperatur bei einer längeren Abwesenheit (im allge-
meinen länger als 24 Stunden) auf etwa 7°C zu halten.
Den Cursor einstellen A auf stellen .
Die Heizkontrollampe
Blockieren der Steuerungen
P
M
L
N
B
A
Verwendung

Related product manuals