EasyManua.ls Logo

Atlantic F617 - Page 39

Atlantic F617
Print Icon
To Next Page IconTo Next Page
To Next Page IconTo Next Page
To Previous Page IconTo Previous Page
To Previous Page IconTo Previous Page
Loading...
39
Installeer het toestel niet in de tocht, dit kan de werking
verstoren (bijv. onder een centraal mechanisch ventilatiesysteem enz.).
Niet installeren onder een stopcontact.
APPARAAT INSTALLEREN
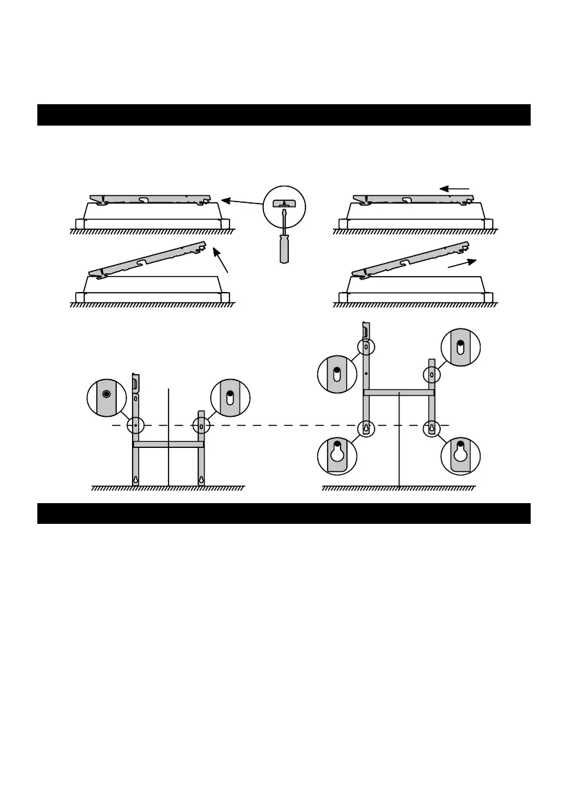
Bevestigingssysteem van het apparaat loshalen
Wij raden u aan het apparaat in zijn beschermende blokken te laten
zitten en het plat op de grond te leggen.
Bevestigingssysteem bevestigen
Gebruik schroeven en pluggen
geschikt voor de wand (bijv.: gipsplaat).
APPARAAT AANSLUITEN
Regels voor het aansluiten
- De aansluitspanning van het toestel is 230 V 50Hz.
- De voeding van het apparaat moet rechtstreeks worden
aangesloten op het stroomnet na de vermogensschakelaar en
zonder tussenliggende schakelaar.
- Het apparaat wordt op het net aangesloten met behulp van de
kabel via een aansluitdoos. In vochtige ruimtes, zoals badkamers en
keukens, moet de aansluitdoos minstens 25 cm boven de vloer
worden geïnstalleerd.
- Het is verboden om het apparaat te aarden. Sluit de
(zwarte) stuurdraad niet aan op de aarde.
- De voeding van het apparaat moet rechtstreeks worden
aangesloten op het stroomnet na de meerpolige
stroomonderbreker volgens de installatievoorschriften.

Other manuals for Atlantic F617

Related product manuals