EasyManua.ls Logo

Atlantic F617 - Page 5

Atlantic F617
Print Icon
To Next Page IconTo Next Page
To Next Page IconTo Next Page
To Previous Page IconTo Previous Page
To Previous Page IconTo Previous Page
Loading...
5
       
perturber son fonctionnement (ex : sous une Ventilation
Mécanique Centralisée, etc...).



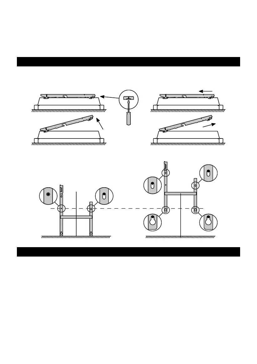
        cales de
protection et de le poser à plat face vers le sol.

Utiliser des vis et chevilles
Adaptées à votre support
(ex : plaque de plâtre).

Règles de raccordement
- alimenté en 230 V Monophasé 50Hz.
- 
réseau après le disjoncteur et sans interrupteur intermédiaire.
- 
îtier de raccordement. Dans des locaux
humides comme les salles de bains et les cuisines, il faut installer le
boîtier de raccordement au moins à 25 cm du sol.
- Le raccordement à la terre est interdit. Ne pas brancher
le fil pilote (fil noir) à la terre.

Other manuals for Atlantic F617

Related product manuals