EasyManua.ls Logo

Atom S100 Series - Page 15

Atom S100 Series
21 pages
Print Icon
To Next Page IconTo Next Page
To Next Page IconTo Next Page
To Previous Page IconTo Previous Page
To Previous Page IconTo Previous Page
Loading...
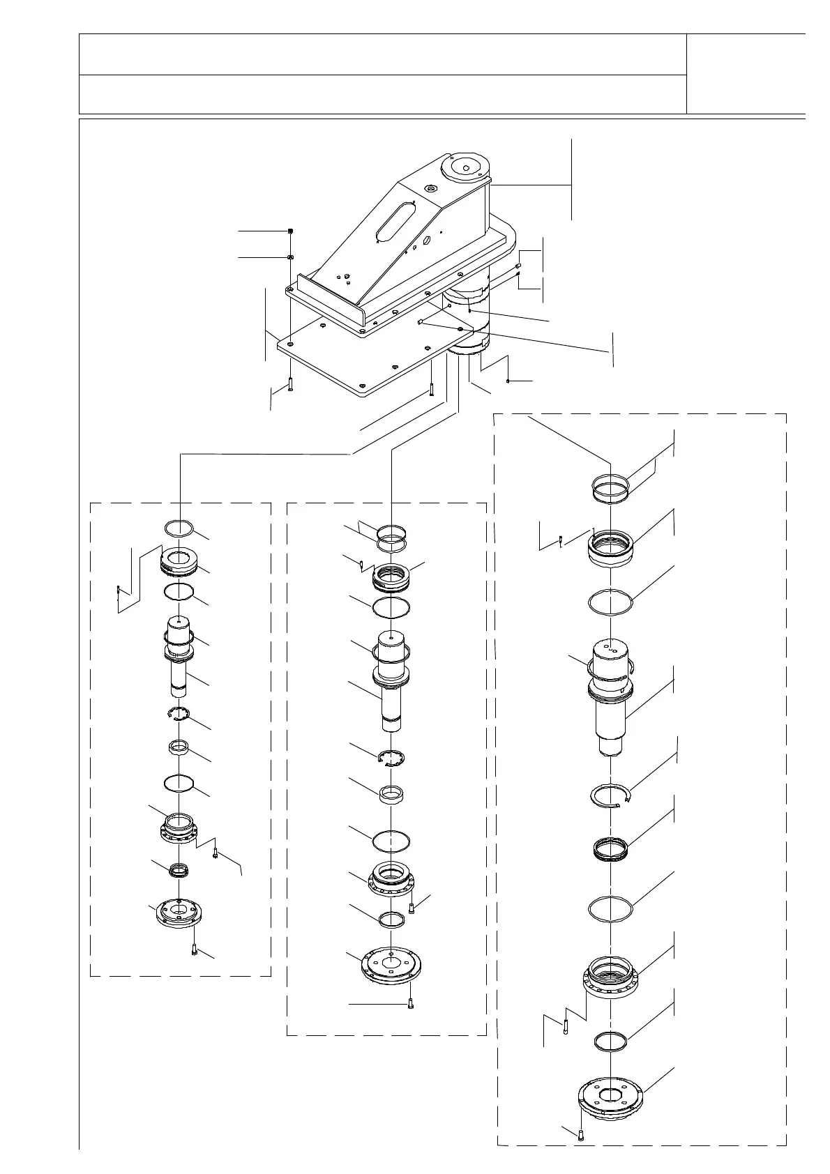
S/SE108/116/120C/120/122/124C/124/125C/125/125L
Dall’equipm. N. all’equipm. N. ; Data apert. tav.14/3/03 data chius. tav.
Tav. 3
02000526--S108/116/120C/120/124C
02000585--S122/124/125C/125/125L
01003295
01010395
01010394
01010396
02006986
02001154
02003886
02001211
02001211
02002836
02003148
02001155
02001210
S/SE116/120C
01002158
02000792
02006986
01003472--S/SE120
01002157
02003663
02001221
02001221
01003471--S/SE120
01002165
01010903--S/SE120
02001224
01003473--S/SE120
01002161
02002098--S/SE120
02001236
02000789--S/SE120
02001222
01003295
02002099--S/SE120
02001223
01012471--S/SE108
01011451--S/SE116/120C
01011475--S/SE120/124C
01011497--S/SE124
01011485--S/SE125C
01011499--S/SE122/125
01011500--S/SE125L
01003408
02000215--S/SE108
01003406
02000215--S/SE108/116/120C
02000221--S/SE108
02001366--S/SE116/120C
02001237
02000221--S/SE108
02001366--S/SE116/120C
02001237
01002056--S/SE108
01011453--S/SE116/120C/120/124C
01001587--S/SE124
01011490--S/SE125C
01001588--S/SE122/125
01001601--S/SE125L
02000516--S/SE122/125C/125/125L
02000121
02000338
S/SE120/122/124C/124/125C/125/125L
01002268
S/SE108
02001150
01002075
02001080
02000696
01003404
02001786
01002074
02001784
02001080
01003403
02001157
02001782
01002073
02001157

Related product manuals