EasyManua.ls Logo

Atomic G01889W - Page 10

Atomic G01889W
24 pages
Print Icon
To Next Page IconTo Next Page
To Next Page IconTo Next Page
To Previous Page IconTo Previous Page
To Previous Page IconTo Previous Page
Loading...
©
2012 Escalade Sports
Para Servicio al cliente llame 1-888-996-2729
Todos los derechos reservados.
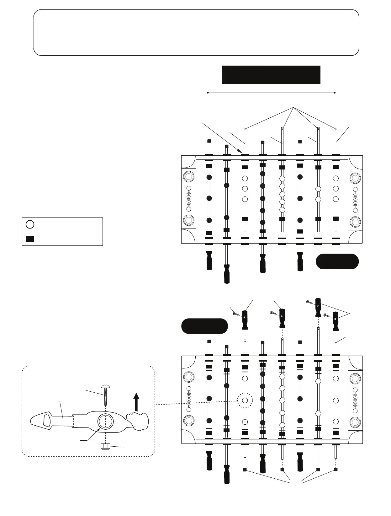
PASO 9:
Deslice la Barra de 3 Jugadores P22, la Barra de 5
Jugadores P23 y la Barra de 2 Jugadores P21 a través
de los Bujes de la barra P17 en el otro Panel Lateral
P1 como se muestra en la FIGURA 9.
NOTA IMPORTANTE: Por favor, OBSERVE la ubicación del orificio
que está cerca de uno de los extremos de cada
barra. Este es el extremo del mango de la barra.
Coloque un Tope de la barra P14 en cada barra como
se muestra en la FIGURA 9.
Coloque los jugadores de Camisa Negra/Shorts Amarillos
P20 en cada una de las barras como se muestra en la
FIGURA 9.
NOTA IMPORTANTE El portero debe estar a su
IZQUIERDA y su equipo (cara del jugador) viendo a
la DERECHA.
Coloque un Tope de la Barra P14 en cada barra como
se muestra en la FIGURA 9.
10
PASO 10:
Alinee el Jugador de Camisa Negra/Shorts Amarillo
P20 en cada orificio del jugador (de la Barra) y
adjúntelo utilizando los Tornillos H10 con las Tuercas
de Seguridad H11 como se muestra en la FIGURA
10 and DETALLE B.
Coloque los Tapones P15 a las barras como se
muestra en la FIGURA 10.
10. Fije los Mangos P16 utilizado los
Tornillos H8 como se muestra en la FIGURA 10.
Deslice el Mango P16 en cada extremo de la barra
con el orificio pequeño como se muestra en la
FIGURA
P17
Buje de
la barra
VISTA DESDE ARRIBA VIENDO
HACIA ABAJO SOBRE LA MESA
DERECHA
IZQUIERDA
DETALLE B
P20
FIGURA 9
Orificio/Extremo
del Mango
P21
Barra de 2
Jugadores
P23
Barra de 5
Jugadores
P22
Barra de 3
Jugadores
P22
Barra de 3 Jugadores
Jugador
hacia arriba
H10
H11
Rod
P16
Mango de la barra
P16
Mango de la barra
P15
Tapón para la barra
FIGURA 10
= P14 Tope de la barra
=
PARTES REQUERIDAS:
4 pzas. - H8 Tornillo Phillips 1 pza. - P21 Barra de 2 Jugadores 8 pzas. - P14 Tope de la barra
13 pzas. - H10 Tornillo Phillips 2 pzas. - P22 Barra de 3 Jugadores 4 pzas. - P15 Rod End Cup
13 pzas. - H11 Tuerca de Seguridad 1 pza. - P23 Barra de 5 Jugadores 4 pzas. - P16 Mango de la barra
13 pzas. - P20 Jugador Camisa Negra/Shorts Amarillos
H8
NOTA IMPORTANTE: El Jugador debe estar en
posición vertical, mientras se fijan los Mangos de la
Barra P16 con la ranura hacia arriba.
NOTA:
Orificio Pequeño
P20 Jugador Camisa
Negra/Shorts Amarillos

Related product manuals