EasyManua.ls Logo

Audio Technica AT-LP3BK

Audio Technica AT-LP3BK
104 pages
To Next Page IconTo Next Page
To Next Page IconTo Next Page
To Previous Page IconTo Previous Page
To Previous Page IconTo Previous Page
Loading...
4
IT
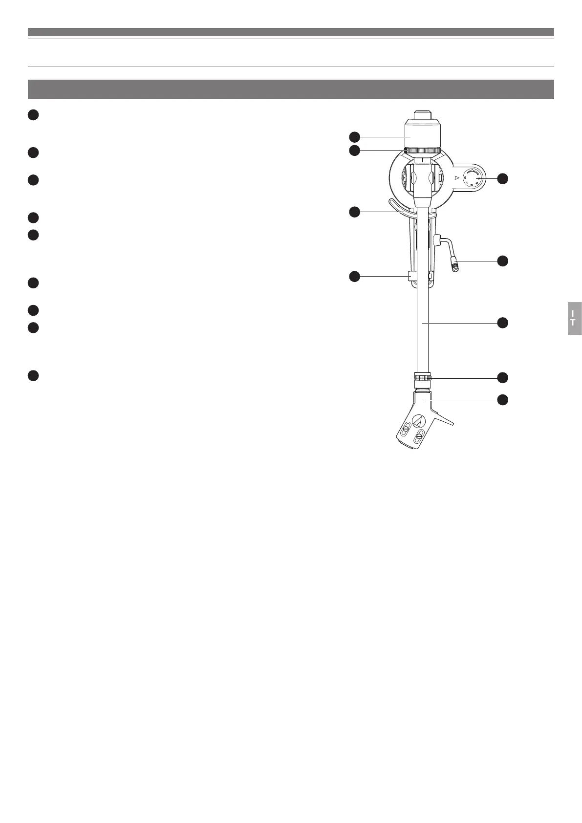
Nomi di componenti e funzioni
Braccio
1
2
3
5
6
8
4
9
7
1
Contrappeso
Bilancia il braccio e consente di regolare per ottenere la forza di
tracciamento appropriata.
2
Anello del calibro della forza di tracciamento
Serve per regolare la forza di tracciamento.
3
Sollevamento del braccio
Sposta il braccio in verticale avvicinandolo o allontanandolo dalla
superficie del disco.
4
Supporto del braccio
5
Ghiera di controllo anti-scivolo
Mentre il disco è in riproduzione, una forza agisce sulla punti per tirarla
verso l’interno. Questa forza può essere contrasta impostando gli stessi
valori per la forza anti-scivolo e la forza di tracciamento.
6
Leva di comando per il sollevamento del braccio
Aziona il sollevamento del braccio.
7
Braccio
8
Anello di blocco
Ruotare l’anello verso sinistra (in senso antiorario) per fissare la testina
sagomata. Per smontare la testina sagomata, ruotare l’anello verso
destra.
9
Testina sagomata e capsula
La capsula (AT91R) è montata sulla testina sagomata (AT-HS3).

Table of Contents

Related product manuals