EasyManua.ls Logo

auna multimedia iTuner CD - Aperçu de Lappareil

auna multimedia iTuner CD
Print Icon
To Next Page IconTo Next Page
To Next Page IconTo Next Page
To Previous Page IconTo Previous Page
To Previous Page IconTo Previous Page
Loading...
75
FR
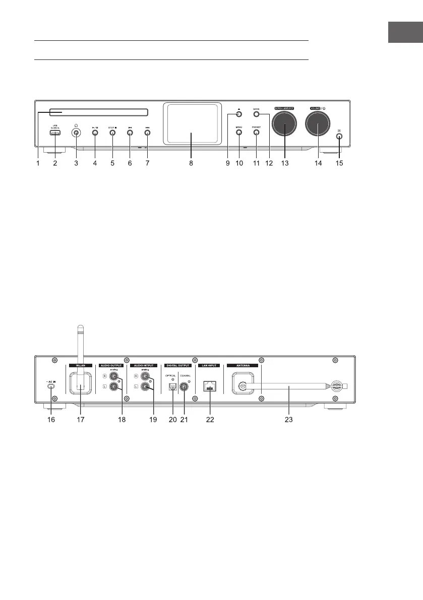
APERÇU DE L'APPAREIL
1 Tiroir de CD
2 Capteur IR
3 Prise casque
4 Lecture / Pause
5 Stop – mettre en pause la
lecture
6 Titre précédent
7 Titre suivant
8 Écran
9 Ouverture / fermeture du tiroir
CD
10 Menu
11 Paramètres
12 Mode
13 Parcourir /sélectionner
14 Volume / marche-arrêt
15 Capteur IR
16 Prise d'alimentation
17 Antenne Wi
18 Sortie audio (analogique)
19 Entrée audio (analogique)
20 Sortie optique (numérique)
21 Sortie coaxiale (numérique)
22 Entrée réseau local
23 Antenne rigide
Face avant
Rückseite

Table of Contents