EasyManua.ls Logo

auna C500 - Circuit

auna C500
Print Icon
To Next Page IconTo Next Page
To Next Page IconTo Next Page
To Previous Page IconTo Previous Page
To Previous Page IconTo Previous Page
Loading...
41
FR
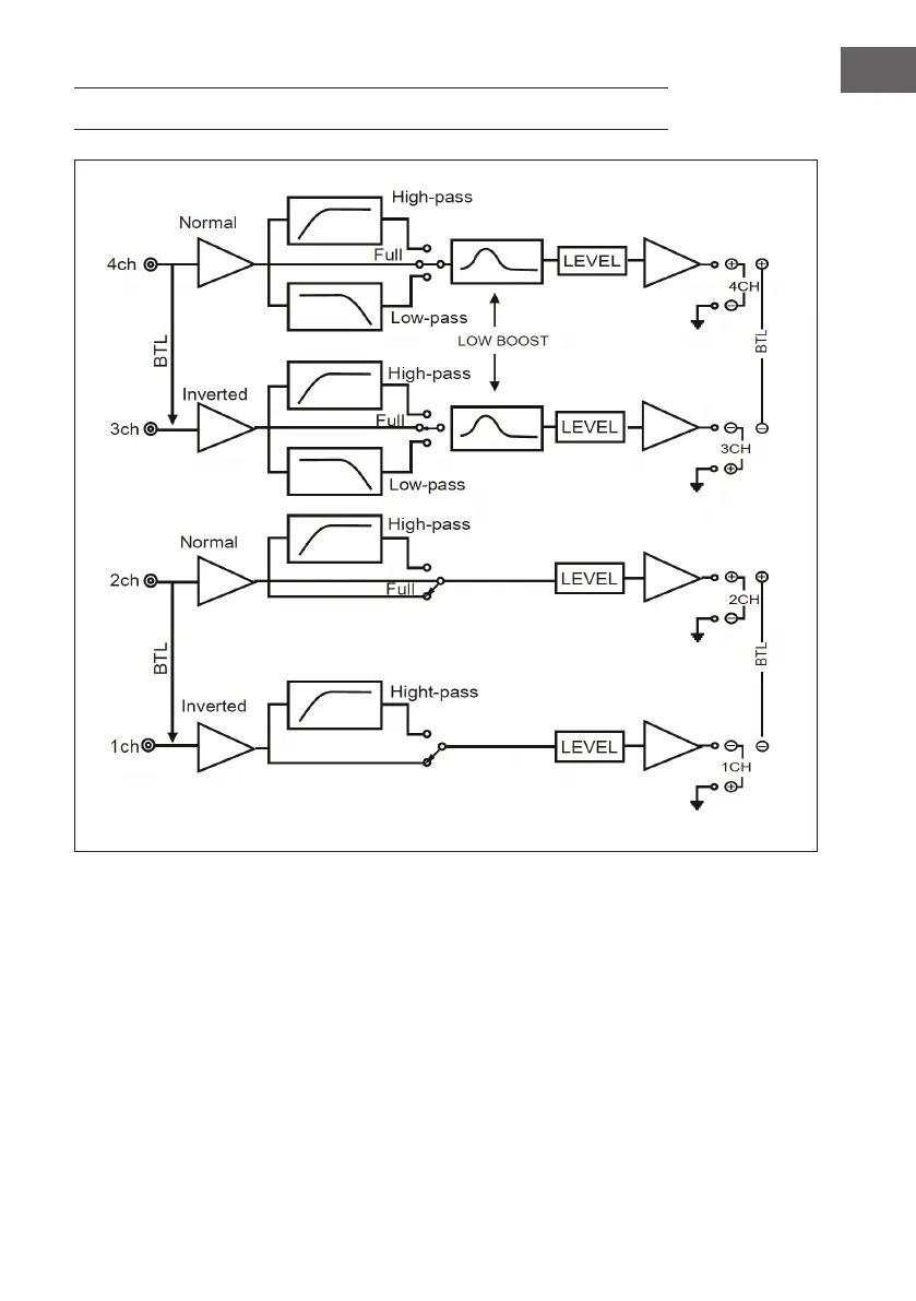
CIRCUIT

Related product manuals