EasyManua.ls Logo

auna C500 - Schaltkreis

auna C500
Print Icon
To Next Page IconTo Next Page
To Next Page IconTo Next Page
To Previous Page IconTo Previous Page
To Previous Page IconTo Previous Page
Loading...
7
DE
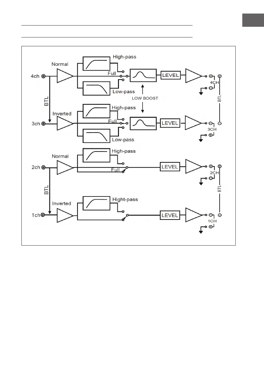
SCHALTKREIS

Related product manuals