EasyManua.ls Logo

Avidsen WEAT C2N - 7. LOCATION OF MOTOR

Avidsen WEAT C2N
23 pages
Print Icon
To Next Page IconTo Next Page
To Next Page IconTo Next Page
To Previous Page IconTo Previous Page
To Previous Page IconTo Previous Page
Loading...
WEAT C2N – V1 - EN 8
fig. 4
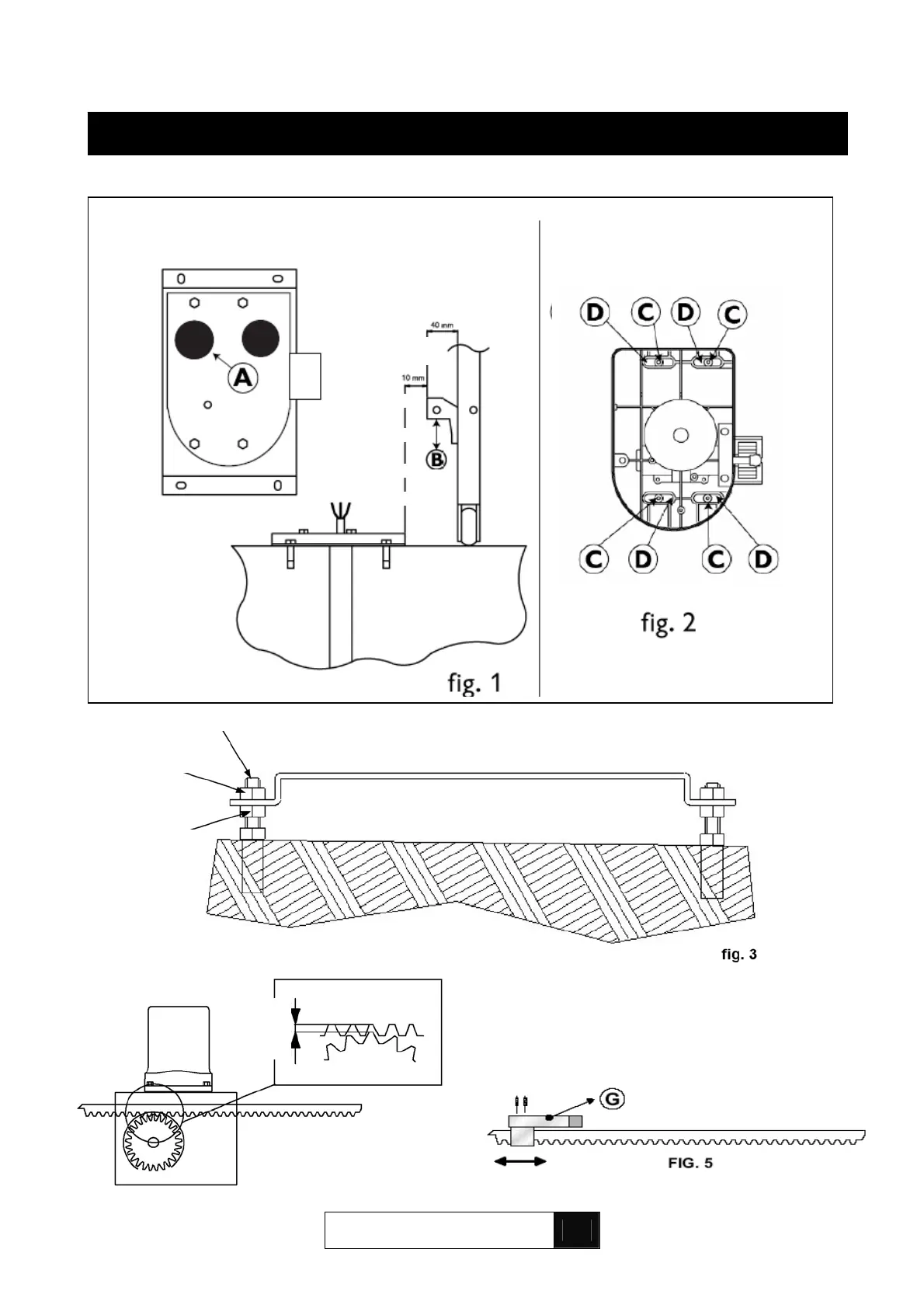
7. LOCATION OF MOTOR
The pinion and rack must be separated by a
clearance of 2 or 3 mm.
If this clearance is greater, the pinion will not be
able to drive the rack.
If it is less, the gate’s entire weight will be placed on
the pinion.
Grub screw
Nut E
Nut F
2 to 3 mm
40 mm
10 mm

Related product manuals