EasyManua.ls Logo

Axis P1367 - 产 产 产 品 品 品 概 概 概 述 述 述

Axis P1367
134 pages
Print Icon
To Next Page IconTo Next Page
To Next Page IconTo Next Page
To Previous Page IconTo Previous Page
To Previous Page IconTo Previous Page
Loading...
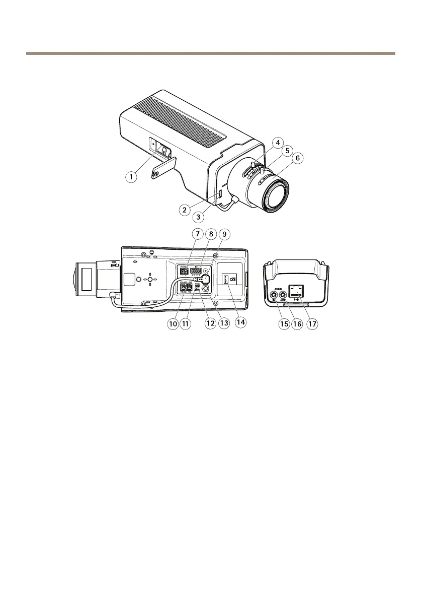
AXISP1367NetworkCamera
1
microSD
2
LED
3
4
5
6
7
(DC)
8
I/O
9
10
RS485/422
11
LED
12
LED
13
14
15
16
17
(PoE)
120

Table of Contents

Related product manuals