EasyManua.ls Logo

Axis P1367 - Panoramica del Dispositivo

Axis P1367
134 pages
Print Icon
To Next Page IconTo Next Page
To Next Page IconTo Next Page
To Previous Page IconTo Previous Page
To Previous Page IconTo Previous Page
Loading...
AXISP1367NetworkCamera
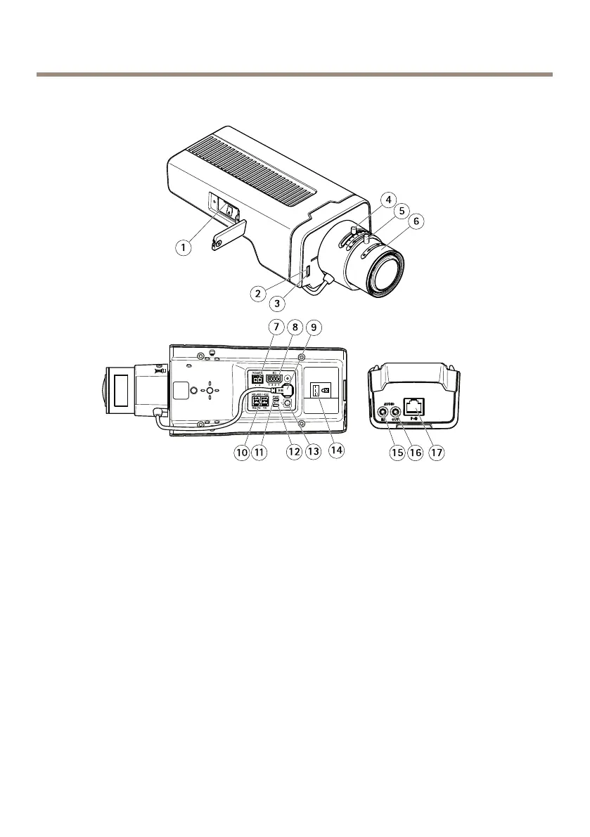
Panoramicadeldispositivo
1
SlotperschedadimemoriamicroSD
2
LEDdistato
3
Microfonoincorporato
4
Levettadizoom
5
Vitediarrestodellaghieradimessafuoco
6
Ghieradimessaafuoco
7
Connettoredialimentazione(CC)
8
ConnettoreI/O
9
Connettoredeldiaframma
10
ConnettoreRS485/422
11
PowerLED
12
LEDdirete
13
Pulsantedicomando
14
Slotdisicurezza
15
Ingressoaudio
16
Uscitaaudio
17
Connettoredirete(PoE)
66

Table of Contents

Related product manuals