EasyManua.ls Logo

Axis P1367 - Información General del Producto

Axis P1367
134 pages
Print Icon
To Next Page IconTo Next Page
To Next Page IconTo Next Page
To Previous Page IconTo Previous Page
To Previous Page IconTo Previous Page
Loading...
AXISP1367NetworkCamera
Informacióngeneraldelproducto
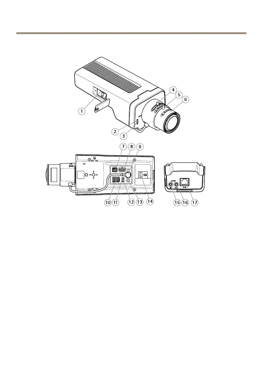
1
RanuraparatarjetamicroSD
2
LEDdeestado
3
Micrófonointegrado
4
Reguladordezoom
5
Tornillodebloqueodelanillodeenfoque
6
Anillodeenfoque
7
Conectordealimentación(CC)
8
ConectordeE/S
9
Conectordeiris
10
ConectorRS485/422
11
LEDdealimentación
12
LEDdered
13
Botóndecontrol
14
Ranuradeseguridad
15
Entradadeaudio
16
Salidadeaudio
17
Conectordered(PoE)
84

Table of Contents

Related product manuals