EasyManua.ls Logo

Azbil SDC35 - Page 171

Azbil SDC35
290 pages
Print Icon
To Next Page IconTo Next Page
To Next Page IconTo Next Page
To Previous Page IconTo Previous Page
To Previous Page IconTo Previous Page
Loading...
5-111
Chapter 5. DETAILED DESCRIPTION OF EACH FUNCTION
Position proportional dead zone
Item (Bank) Display Contents Initial value User level
Position proportional dead
zone
(Setup bank)
0.5 to 25.0% 10.0% Basic,
Standard,
High function
When the control output type is R1 (motor drive relay output), the display and setting
can be performed. However, if [
C59
: Motor long life mode] is set at “1” (aiming at
the service life of the potentiometer), the display and setting cannot be performed.
The dead zone between the motor open and motor close in the position
proportional control is set.
For setting reference, this dead zone is changed when the manual output is output
at a constant rate. The value, which is obtained when the hunting of the motor is
stopped, is the minimum value of the dead zone.
If the exactly minimum value is set, the motor is always moved, causing the
service life of the motor to be shortened extremely.
The default setting before shipment is “10.0%”. With this default value used as
reference value, the setting is made correctly by taking the control results and
service life of the motor into consideration.
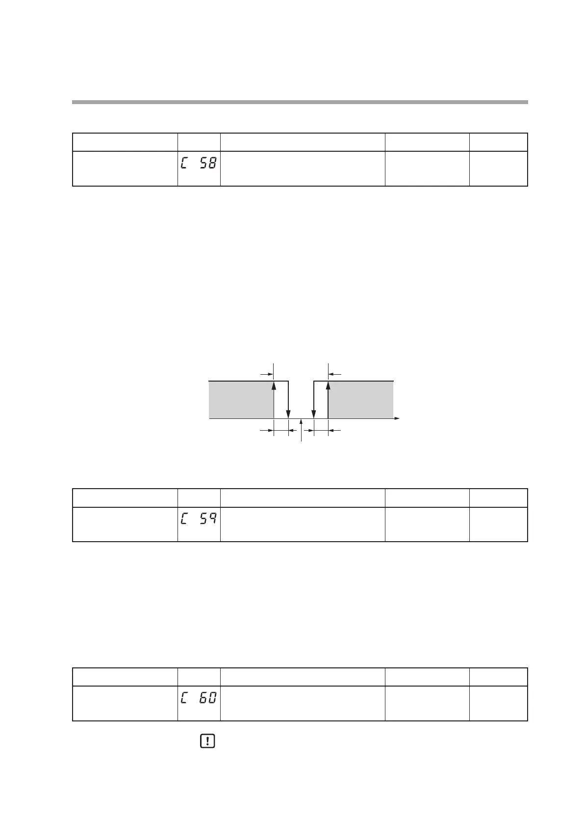
Dead zone
* 1/4 of dead zone set value
* *
Relay on open
side ON
Relay on close
side ON
Control output (%)
MFB (%)
Motor long life mode
Item (Bank) Display Contents Initial value User level
Motor long life mode
(Setup bank)
0: Aiming at controllability
1: Aiming at service life of potentiometer
1 Basic,
Standard,
High function
When the control output type is R1 (motor drive relay output), the display and
setting can be performed.
When this setting is set at “1” (aiming at service life of potentiometer), the values
set in [
OUtL
: Output variation limit] and [
C58
: Position proportional dead
zone] become invalid and the value suitable for aiming at the service life of the
potentiometer is calculated automatically.
Motor adjust
Item (Bank) Display Contents Initial value User level
Motor adjust
(Setup bank)
0: Stop
1: Start
0 Basic,
Standard,
High function
Handling Precautions
When [
C57
: Position proportional type] is set at “0” or “1, be sure to perform
[
C60
: Motor adjust].

Table of Contents

Other manuals for Azbil SDC35

Related product manuals