EasyManua.ls Logo

Backyard Discovery BEACH FRONT - Parts Identification; Wood Components

Backyard Discovery BEACH FRONT
70 pages
Print Icon
To Next Page IconTo Next Page
To Next Page IconTo Next Page
To Previous Page IconTo Previous Page
To Previous Page IconTo Previous Page
Loading...
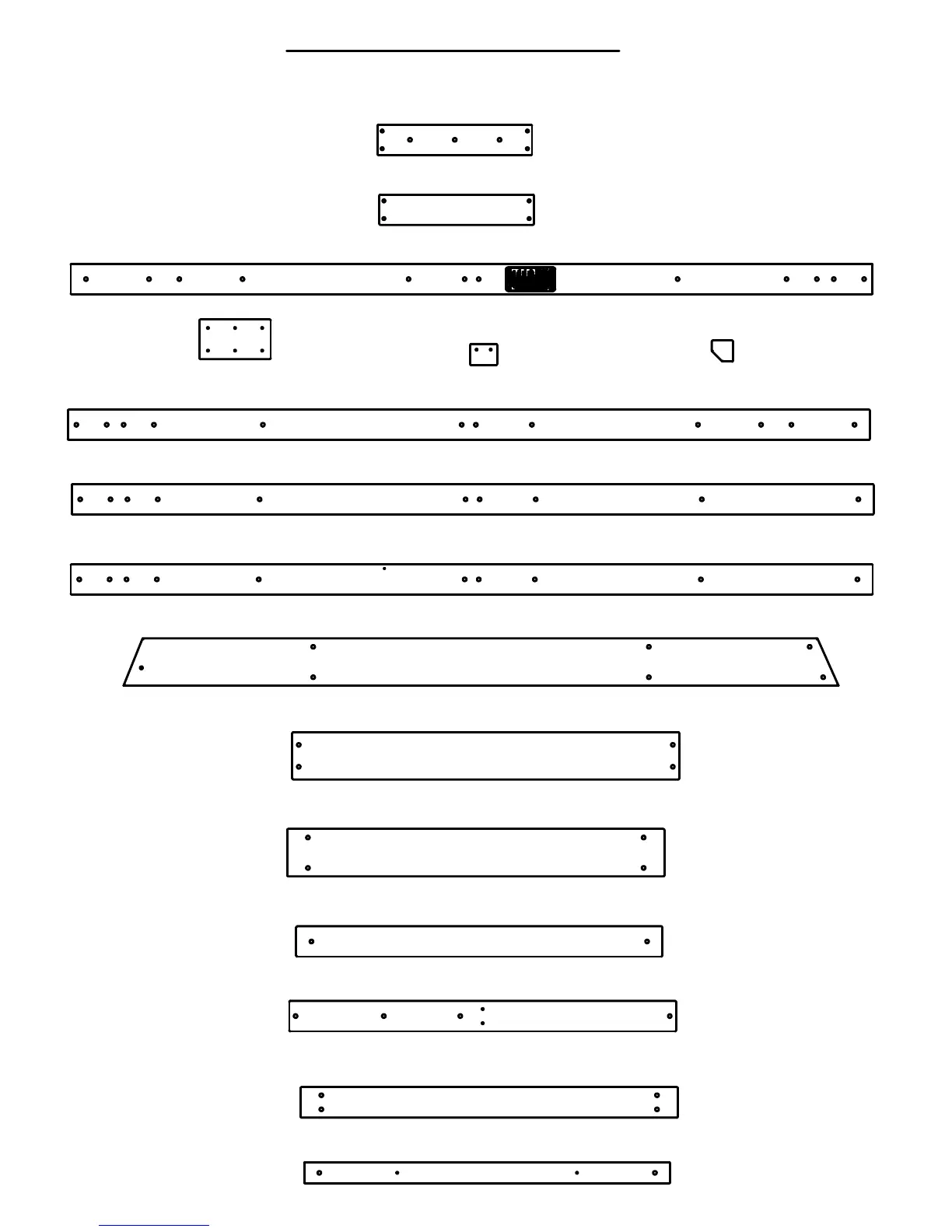
Parts Identification
Wood Components
(NOT TO SCALE)
M77 - SLIDE BRACE - W100544
5/8"x3 3/8"x17 1/4" (16x86x438)
(1)
M78 - CENTER SLIDE BRACE - W100545
5/8"x3 3/8"x17 1/4" (16x86x438)
(2)
E4 - UPRIGHT - W2A01970
1
3/8"x3 3/8"x57 3/8" (36x86x2274)
(1)
Q2 - SANDBOX SEAT SUPPORT - W4L06434
1"x4 3/8"x8" (24x112x202)
(4)
J9 - SUPPORT BOARD - W4L06064
1"x2 3/8"x3" (24x60x76)
(4)
J2 - SHELF SUPPORT - W4L06903
1"x2 3/8"x2 3/8" (24x60x60)
(2)
E1 - UPRIGHT - W4L06890
1 3/8"x3 3/8"x89 1/2" (36x86x2274)
(1)
E2 - UPRIGHT - W4L06891
1 3/8"x3 3/8"x89 1/2" (36x86x2274)
(1)
E3 - UPRIGHT - W4L06892
1 3/8"x3 3/8"x89 1/2" (36x86x2274)
(1)
K1 - GROUND BOARD - W4L06893
5
/8"x5 1/4"x79 7/8" (16x134x2028)
(1)
K2 - GROUND BOARD - W4L06894
5/8"x5 1/4"x43 1/4" (16x134x1097)
(4)
K3 - GROUND BOARD - W4L06896
5/8"x5 1/4"x42 1/8" (16x134x1070)
(2)
M1 - SAFETY BOARD - W4L06895
5/8"x3 3/8"x40 7/8" (16x86x1038)
(1)
M2 - FLOOR RAIL - W4L06897
5
/8"x3 3/8"x43 1/4" (16x86x1097)
(1)
H1 - FLOOR RAIL - W4L06898
1"x3 3/8"x42 1/8" (24x86x1070)
(1)
J1 - WALL RAIL - W4L06900
1"x2 3/8"x40 7/8" (24x60x1038)
(1)

Other manuals for Backyard Discovery BEACH FRONT

Related product manuals