EasyManua.ls Logo

Backyard Discovery BEACH FRONT - WASHER FLAT 8 X27; Nut Lock 5;16

Backyard Discovery BEACH FRONT
70 pages
Print Icon
To Next Page IconTo Next Page
To Next Page IconTo Next Page
To Previous Page IconTo Previous Page
To Previous Page IconTo Previous Page
Loading...
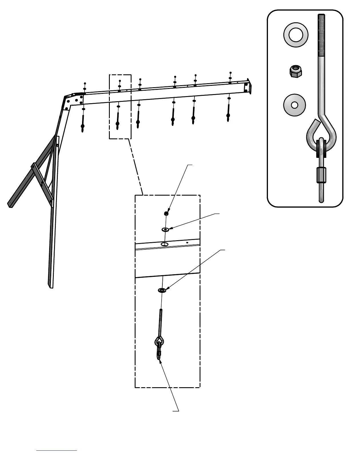
SWING BEAM ASSEMBLY
STEP 4
WASHER
SAFETY
17x30
(6)
NUT LOCK
5/16
(6)
WASHER
FLAT 8x27
(6)
9 1/2" SWING
HANGER
QUICK LINK
(6)
NUT LOCK 5/16
(6 PLCS)
WASHER FLAT 8x27
(6 PLCS)
WASHER SAFETY 17x30
(6 PLCS)
9 1/2" SWING HANGER QUICK LINK
(6 PLCS)

Other manuals for Backyard Discovery BEACH FRONT

Related product manuals