EasyManua.ls Logo

Bailey 2002 Series - Control Panel SPB2 Diagram

Bailey 2002 Series
164 pages
Print Icon
To Next Page IconTo Next Page
To Next Page IconTo Next Page
To Previous Page IconTo Previous Page
To Previous Page IconTo Previous Page
Loading...
51
Chapter 3 CARAVAN SERVICE SYSTEMS
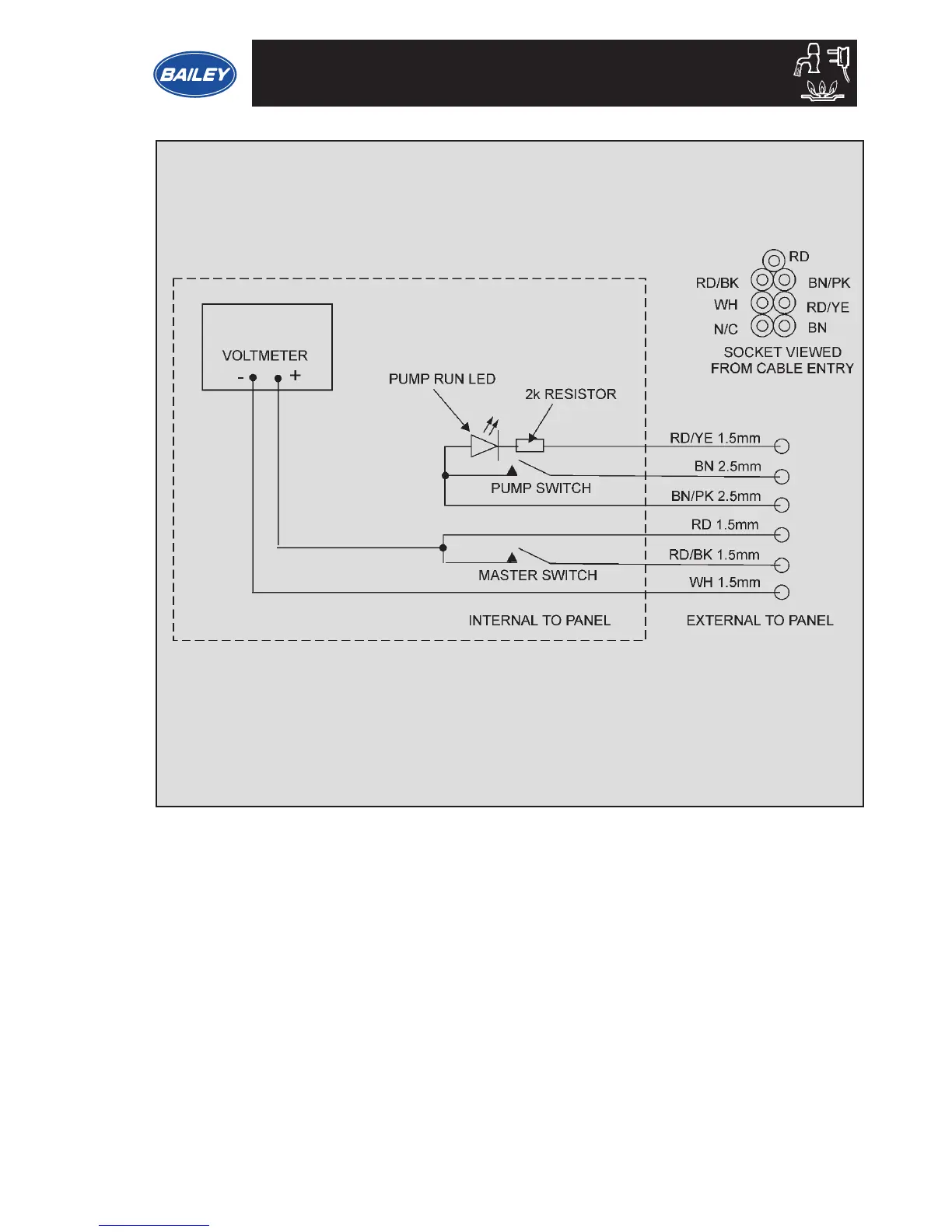
CONTROL PANEL SPB2

Table of Contents

Related product manuals