EasyManua.ls Logo

B&B Electronics ESP901 - Chapter 4: Using Esp Manager; Hardware Setup

B&B Electronics ESP901
91 pages
Print Icon
To Next Page IconTo Next Page
To Next Page IconTo Next Page
To Previous Page IconTo Previous Page
To Previous Page IconTo Previous Page
Loading...
Using ESP Manager
Manual Documentation Number: ESP901-902_5012m Chapter 4 21
B&B Electronics Mfg Co Inc 707 Dayton Rd - PO Box 1040 - Ottawa IL 61350 - Ph 815-433-5100 - Fax 815-433-5104 www.bb-elec.com
B&B Electronics Ltd Westlink Commercial Pk Oranmore, Galway, Ireland Ph +353 91-792444 Fax +353 91-792445 www.bb-europe.com
C
C
h
h
a
a
p
p
t
t
e
e
r
r
4
4
:
:
U
U
S
S
I
I
N
N
G
G
E
E
S
S
P
P
M
M
A
A
N
N
A
A
G
G
E
E
R
R
The ESP Manager software allows:
Searching for servers connected to the network
Displaying and changing the configuration of those servers
Installing virtual COM ports on a computer
Displaying and configuring virtual COM ports
Uninstalling virtual COM ports on a computer
Upgrading the Serial Server firmware
Monitoring Port Status
Saving and Loading Configuration Files
Hardware Setup
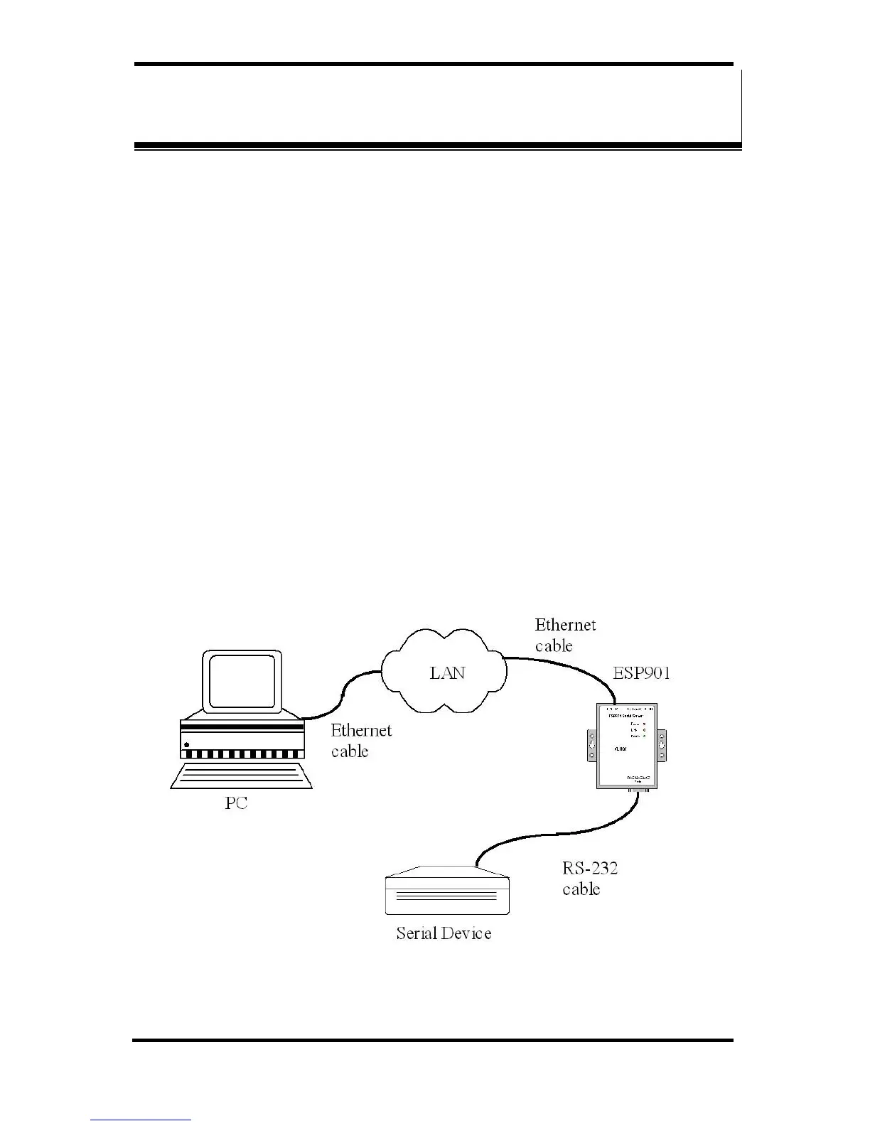
Step 1: Connect the Serial Server to the LAN or to a computer
Ethernet port. Set all the DIP switches on the Serial Server to
the OFF position
Figure 19. Ethernet Connection via a LAN

Table of Contents