EasyManua.ls Logo

Baoli CPD10 - Page 81

Baoli CPD10
124 pages
Print Icon
To Next Page IconTo Next Page
To Next Page IconTo Next Page
To Previous Page IconTo Previous Page
To Previous Page IconTo Previous Page
Loading...
76
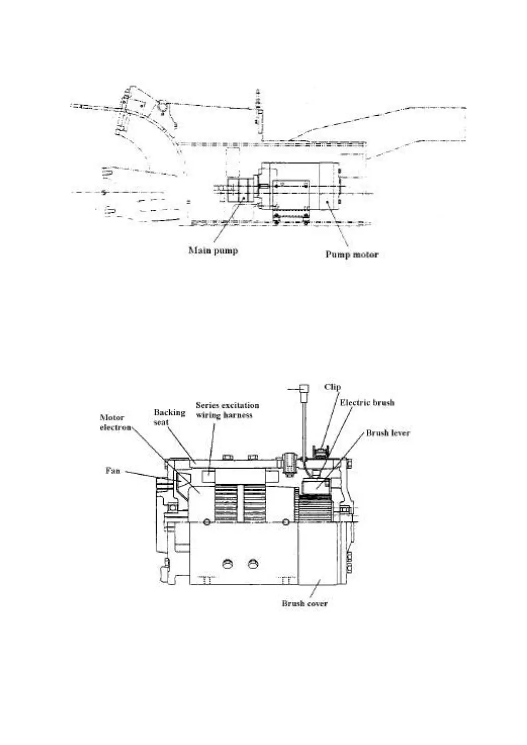
Fig 5-1 Assembly diagram of lifting motor
Fig5-2 Lifting motor

Table of Contents

Related product manuals