EasyManua.ls Logo

BARKO LOADERS 295 - Page 42

Default Icon
85 pages
Print Icon
To Next Page IconTo Next Page
To Next Page IconTo Next Page
To Previous Page IconTo Previous Page
To Previous Page IconTo Previous Page
Loading...
page 42
295 AC
800-00158
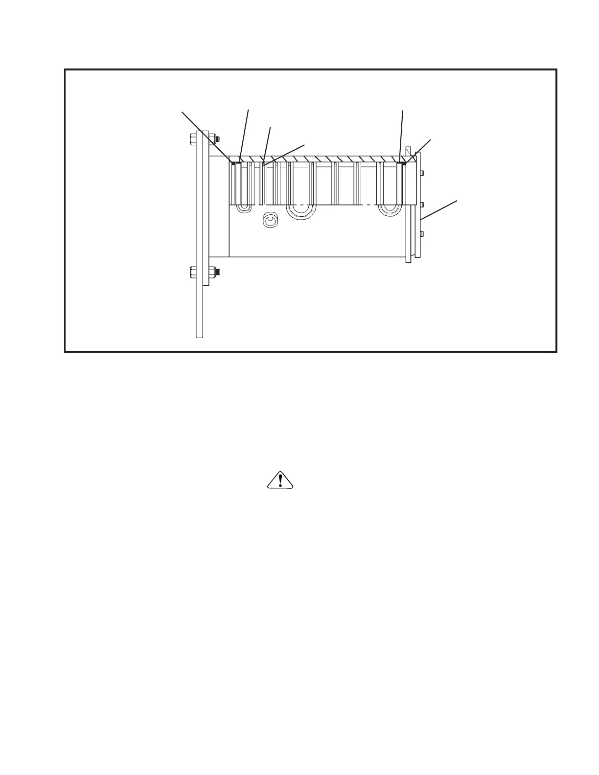
HYDRAULIC COLLECTOR MAINTENANCE CONTINUED...
LOADED LIP SEAL
COLLECTOR SHOWN MAY NOT BE TYPE USED ON YOUR MACHINE BUT IS SHOWN AS A REFERENCE.
TOP OF
COLLECTOR
BEARING GUIDE RING
LOADED LIP
SEAL
SQUARE SEAL
BEARING GUIDE RING
O-RING
ASSEMBLY
1. All parts must be clean and free of oil and dust.
2. Install o-rings, loaded lip seals, or teflon rings on spool. See below for teflon rings:
TEFLON RING INSTALLATION:
NOTE: If any teflon rings are used, they must be heated in order to stretch them properly for installation.
Heat teflon rings to 200-400 degrees Fahrenheit.
WARNING
Do not heat teflon rings beyond 400 degrees Fahrenheit.
If teflon rings are heated beyond 400 degrees Fahrenheit
they will give off harmful toxic fumes.
When the right temperature is reached the teflon ring will act like a rubber band when shaken.
Using heat resistant gloves, grasp teflon ring and slip over end of spool to groove. Speed is essential before
contracting occurs.
Ensure ring is not twisted in groove.
NOTE: Rings that may be loose on spool may be sized by compressing with suitable hose clamp. Then
remove clamp before proceeding.
ASSEMBLY CONTINUED...
3. Install the two bearing guide rings at each end as shown.
4. Install the square seals on top of o-rings. Be careful not to over-stretch the seals.
5. Inspect for proper seal alignment and install spool in barrel using suitable assembly equipment.
6. Reinstall retaining plate and screws. Tighten screws.
7. Install safety wire on top end of collector.

Table of Contents