EasyManua.ls Logo

BASF 6106 - Write Protect Oetector

Default Icon
72 pages
Print Icon
To Next Page IconTo Next Page
To Next Page IconTo Next Page
To Previous Page IconTo Previous Page
To Previous Page IconTo Previous Page
Loading...
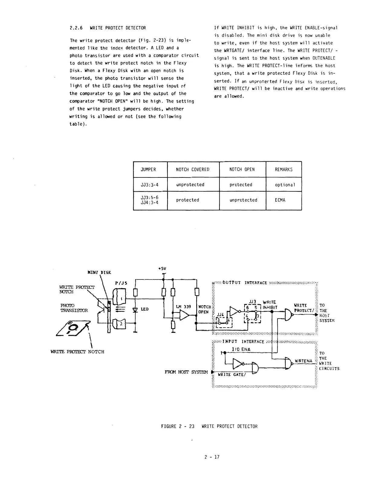
2.2.6
WRITE
PROTECT
DETECTOR
The
write
protect
detector
(Fig. 2-23)
is
imple-
mented
like
the index
detector.
A
LED
and
a
photo
transistor
are used with a comparator
circuit
to
detect
the
write
protect
notch in the Flexy
Disk.
When
a Flexy
Disk
with
an
open
notch
is
inserted.
the
photo
transistor
will
sense
the
light
of
the
LED
causing the negative input pf
the
comparator
to
go
low
and
the output of the
comparator
"NOTCH
OPEN"
wi
11
be
high.
The
setting
of
the
write
protect
jumpers decides. whether
writing
is
allowed or not (see
the
following
tabl
e).
JUMPER
NOTCH
COVERED
JJ3:3-4
unprotected
JJ3:5-6
protected
JJ4:3-4
+SV
KUH
DIS/.:.
If
WRITE
INHIBIT
is high, the
WRITE
ENABLE-signal
is
disabled.
The
mini
disk drive
is
now
unable
to
write,
even
if
the host system
will
activate
the
WRTGATE/
interface
line.
The
WRITE
PROTECT/
-
signal
is
sent to the host system
when
OUTENABLE
is
high.
The
WRITE
PROTECT-line
informs the host
system,
that
a write protected Flexy
Disk
is
in-
serted.
If
an
unproterted Flexy
"is~
is
inserted,
WRITE
PROTECT/
will
be
inactive
and
write operations
are
a11owed.
NOTCH
OPEN
REMARKS
protected
opt i
ona
1
unprotected
ECMA
",,:'::::::
tJ
lJ
tl'
U T
INTF.f<.FACE
:.:.;.:.;.~:.:.:.:.:.:.:-:-:.:.:.:.:.:.:.:.:.:.:.;
..
;
':-r
I~i
lIorCH
~;
WRITt
~:~
TO
fRorECT I
::;
THE
.;.
H0sr
WRITE PID!'EL'T NOTCH
OPEN
~
JJ4
V3--
:;;
SYSrEM
:::
:;:
:::
~:.:.:.:.:.:.:.:.:.;.;.:.:.:.:,:.~.:.:.:.;.:.:.:.:.:.:.:.;.:.;.:.;.:
.:-:.
:.:.:.:.:.:-:.:.:.:-:.:.!.:.:.:.:.:-:-;.;.:.;.
:.:
F101
HOST
SYSTEM
,.:.;,.:.;.:.:.:.
I
NP
U T 1 NTERFACE
;.:.:.
;.;.:
.;.:.:-:-:.:.:.:.:;:;:;:::;::::.:.:.:.;.;.:.:<:;
:::
i~l
t{;:110
ENA
f!!
~~E
·,:i.~
WRTENA
:.;
1<11
I
TE
;~:
CI
Re
U
ITS
t
WRITE
GATE!
~::
..
~:
:;:
:-:.:.~.:.:.:.:.:.:.:.:.:.:.:.;.:.:.:.:.:.:
.:.:.:.
:.:.~.:.:.:-:.:.:-:.:.:.:.~.;.:.:.;.:.:.:
.:.;.;.:-:.;.:.:
:.
:-;.
:.:
.!.:
.;.:.;.
FIGURE
2 -
23
WRITE
PROTECT
DETECTOR
2 -
17

Other manuals for BASF 6106