EasyManua.ls Logo

BASF 6106 - Index;Sector- and Ready Detector; Index;Sector Oetection

Default Icon
72 pages
Print Icon
To Next Page IconTo Next Page
To Next Page IconTo Next Page
To Previous Page IconTo Previous Page
To Previous Page IconTo Previous Page
Loading...
2.2.7
INDEX/SECTOR-
AND
READY
DETECTOR
2.2.7.1
INDEX/SECTOR
DETECTION
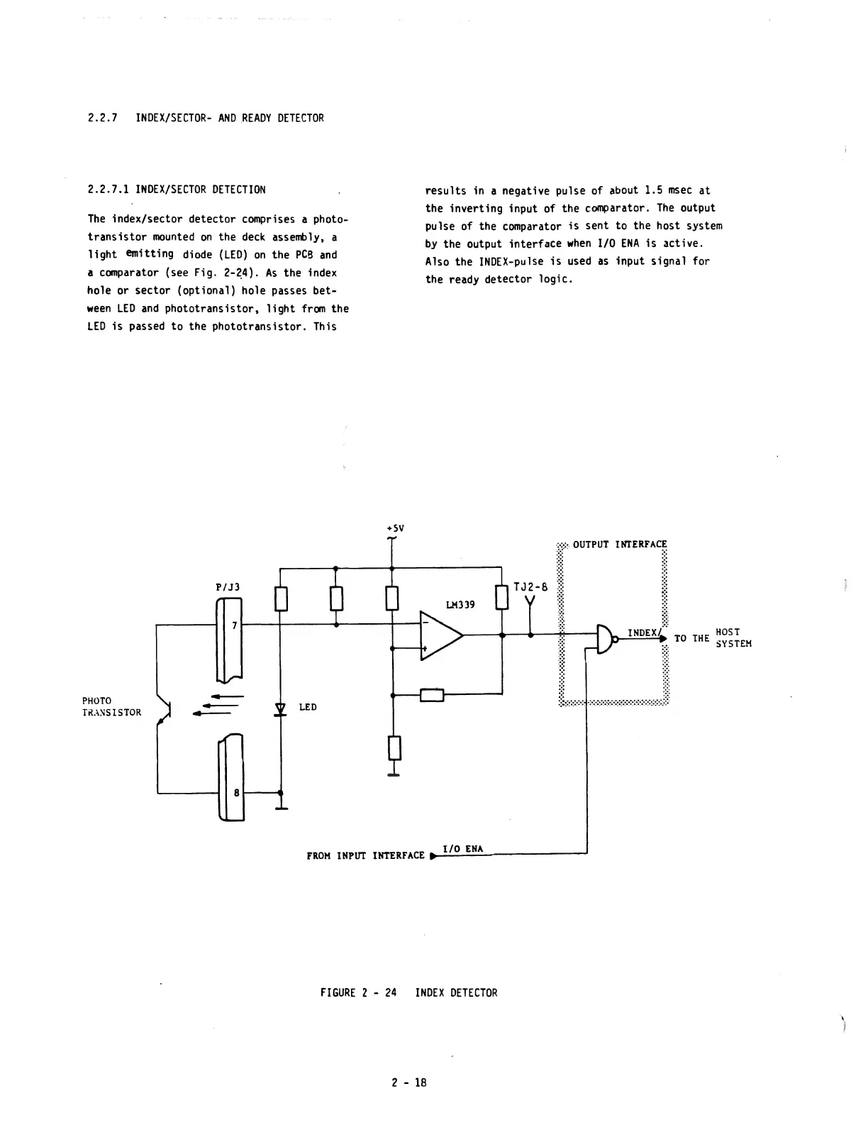
The
index/sector detector comprises a photo-
transistor
mounted
on
the
deck
assembly, a
light
emitting diode
(LED)
on
the
pes
and
a camparator (see Fig.
2-~4).
As
the index
hole or sec
tor
(optional) hole passes bet-
ween
LED
and
phototransistor.
light
fram
the
LED
is
passed to the phototransistor. This
PHOTO
TRA:\SISTOR
P/J3
-
-
-
81---_
LED
+5V
results
in
a negative pulse of about 1.5
msec
at
the inverting input of the comparator.
The
output
pulse of the comparator
is
sent to the host system
by
the output
interface
when
1/0
ENA
is
3ctive.
Also
the
INDEX-pulse
is
used
as
input signal for
the ready detector logic.
.;.;.;.
OUTPUT
INTERFACE
'>
__
.....
_T_J~2
....
-_8--'ltl----J
n,,,,J
TO
'"
:~~:'"
L,.,
.,,,~c,,,»y.,<j
1/0
ENA
FROH
INPUT
INTERFACE
.....
!.!.!::...==--------"
FIGURE
2 -
24
INDEX
DETECTOR
2 -
18

Other manuals for BASF 6106