EasyManua.ls Logo

BASF 6106 - Erase Delay Logic

Default Icon
72 pages
Print Icon
To Next Page IconTo Next Page
To Next Page IconTo Next Page
To Previous Page IconTo Previous Page
To Previous Page IconTo Previous Page
Loading...
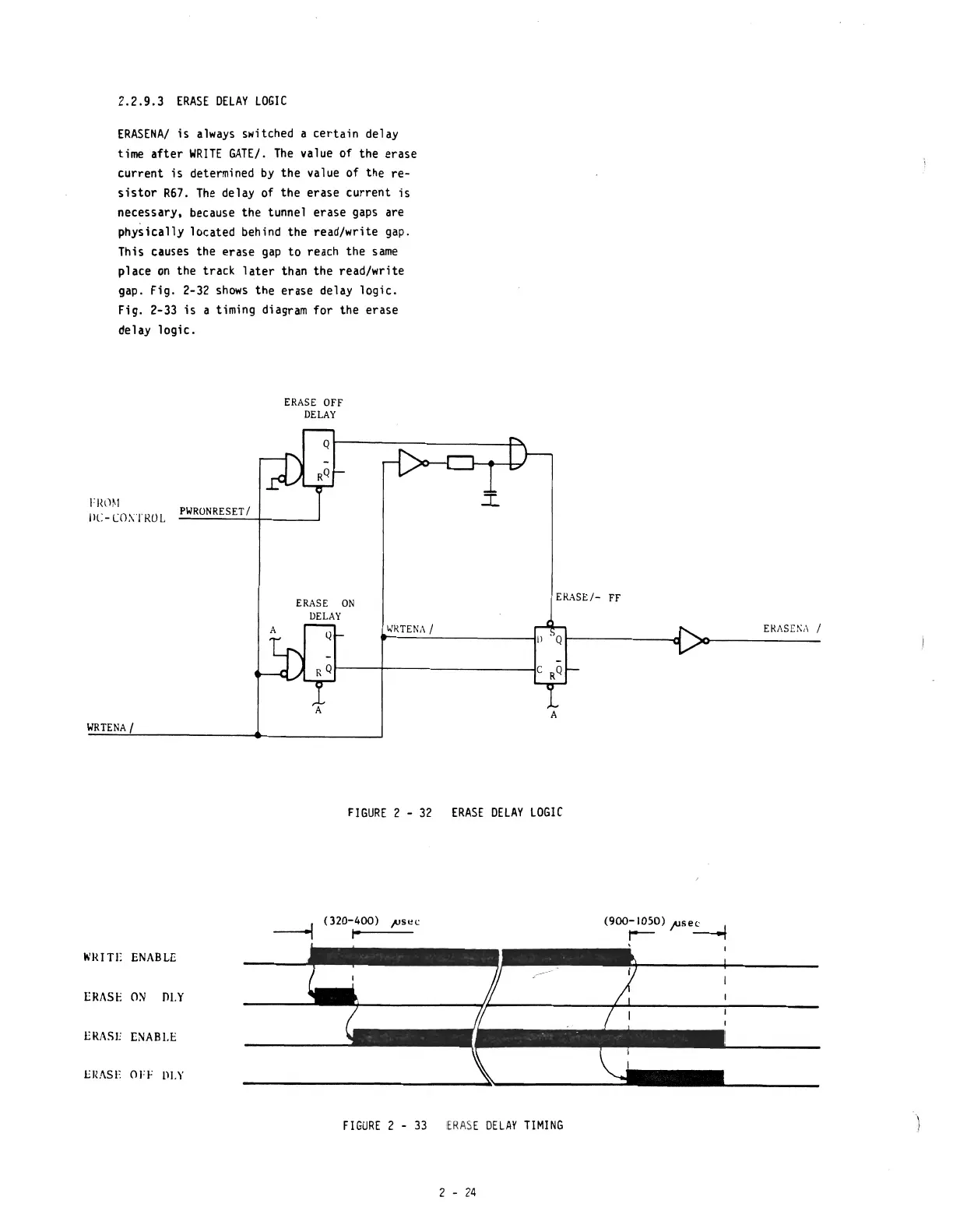
2.2.9.3
ERASE
DELAY
LOGIC
ERASENAI
is
always
switched a
certain
delay
time
after
WRITE
GATE/.
The
value of the erase
current
is
determined
by
the value of the
re-
sistor
R67.
The
delay of the erase current
is
necessary. because the tunnel erase
gaps
are
physically located behind the read/write gap.
This causes the erase
gap
to
re
ach
the
same
place
on
the track
later
than the read/write
gap. Fig. 2-32
shows
the erase delay logic.
Fig. 2-33
is
a timing diagram
for
the erase
delay
logic.
FIW~I
IlC-CO\TROL
WRTENA I
PWRONRESETI
A
ERASE OFF
DELAY
ERASE
ON
DELAY
A
WRTEN,\ /
ERASE/-
FF
A
FIGURE
2 -
32
ERASE
DELAY
LOGIC
I\'IUTE
ENABLE
[RASE
ON
J)LY
ERASE E:-JABLE
ERASE
OFf'
1ll.Y
(320-400)
,",sec
I"'
FIGURE
2 -
33
fRASE
OELAY
TIMING
2 -
24
El{i\S[K,\
I

Other manuals for BASF 6106