EasyManua.ls Logo

Baumatic BSD67MS - Control Panel; Oven Programmer; Timer Display

Baumatic BSD67MS
36 pages
Print Icon
To Next Page IconTo Next Page
To Next Page IconTo Next Page
To Previous Page IconTo Previous Page
To Previous Page IconTo Previous Page
Loading...
10
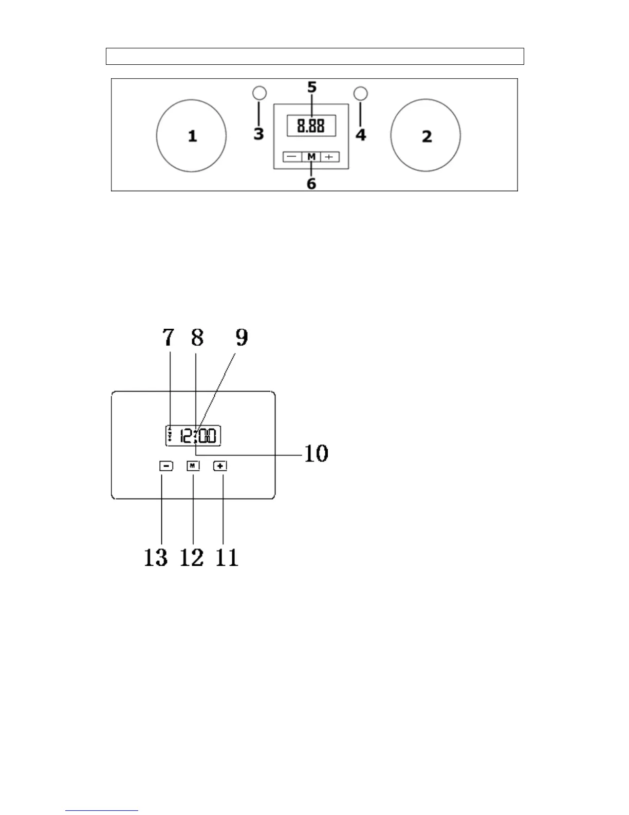
Control Panel
1) Oven function selector knob
2) Thermostat control knob
3) Power indicator light
4) Oven operating light
5) LED display
6) Oven programmer/timer
Oven programmer/timer
7) Automatic cooking symbol
8) Oven in use symbol
9) Decimal point symbol
10) Minute minder symbol
11) Plus button
12) Programme button
13) Minus button

Related product manuals